Teisė ISSN 1392-1274 eISSN 2424-6050
2024, Vol. 133, pp. 81–102 DOI: https://doi.org/10.15388/Teise.2024.133.6
Svajūnė Tylaitė1
Vilniaus universiteto Filosofijos fakulteto
Teisės psichologijos magistrė
El. paštas tylaitesvajune@gmail.com
Dr. Dovilė Barysė
ORCID: https://orcid.org/0000-0002-1212-134X
Psichologė
Teatro g. 9a-13, Vilnius
Tel.: + 370 608 86881
El. paštas info@animapsichologija.lt
Simona Bareikytė2
ORCID: https://orcid.org/0000-0002-4502-8619
Regionų administracinio teismo pirmininko tarnybos patarėja
Žygimantų g. 2, Vilnius
Tel.: +370 679 46042
El. paštas simona.bareikyte@teismas.lt
Summary. Judicial assistants have been gaining more and more legal expertise and practice in handling disputes. However, the professional role of judicial assistants has not been researched in Lithuania yet. The aim of the study is to investigate the relationship between the professional self-efficacy and psychological well-being of judicial assistants. Firstly, the conflicts in role of judicial assistants and work uncertainties have been identified. Secondly, the professional self-efficacy of judicial assistants is best predicted by satisfaction with interpersonal relationships and perceived value at work. In turn, perceived value at work is best predicted by satisfaction with interpersonal relationships, job satisfaction, and an increasing seniority. These results have been received after conducting a survey of 269 judicial assistants working in Lithuanian courts. The Additional Lithuanian Psychological Well-Being Scale (LPGS-P) was used to assess psychological well-being, whereas the short version of the Professional Self-Efficacy Scale (OCCSEFF) developed by Schyns and von Collani (2002) was employed to assess professional self-efficacy.
Keywords: judicial assistants, professional role, professional self-efficacy, psychological well-being.
Santrauka. Teisėjų padėjėjai, padėdami teisėjams ruoštis bylų nagrinėjimui, įgyja vis didesnę teisinę kompetenciją ir praktiką. Tačiau teisėjų padėjėjų profesinis (darbinis) vaidmuo nėra tirtas Lietuvoje. Tyrimu siekta ištirti teisėjų padėjėjų profesinio saviveiksmingumo ir psichologinės gerovės ryšį. Pirmiausia nustatyta, kad egzistuoja profesinio vaidmens konfliktas ir darbinio vaidmens neapibrėžtumai. Antra, nustatyta, kad teisėjų padėjėjų profesinį saviveiksmingumą geriausiai prognozuoja pasitenkinimas tarpasmeniniais santykiais ir suvoktas vertingumas darbe, suvoktą vertingumą darbe geriausiai nuspėja pasitenkinimas tarpasmeniniais santykiais, pasitenkinimas darbu ir didėjantis darbo stažas. Šie tyrimo rezultatai gauti atlikus apklausą, kurioje dalyvavo 269 Lietuvos teismuose dirbančių teisėjų padėjėjai. Psichologinei gerovei įvertinti naudota Papildoma lietuviškoji psichologinės gerovės skalė (LPGS-P). Profesiniam saviveiksmingumui įvertinti naudota Schyns ir von Collani (2002) sukurta trumpoji Profesinio saviveiksmingumo skalės (OCCSEFF) versija.
Pagrindiniai žodžiai: teisėjų padėjėjai, profesinis (darbinis) vaidmuo, profesinis saviveiksmingumas, psichologinė gerovė.
___________
Received: 24/11/2024. Accepted: 12/12/2024
Copyright © 2024 Svajūnė Tylaitė, Dovilė Barysė, Simona Bareikytė. Published by Vilnius University Press
This is an Open Access article distributed under the terms of the Creative Commons Attribution License, which permits unrestricted use, distribution, and reproduction in any medium, provided the original author and source are credited.
Visuomenėse, kuriose veikia teisminė valdžia, tikimasi, kad nešališki ir nepriklausomi teismai (teisėjai), vykdydami teisingumą, tinkamai išnagrinės bylas ir priims teisingus sprendimus (Holvast, 2017). XIX amžiaus pabaigoje Jungtinėse Amerikos Valstijose (Coonan, 2006; Oldfather, Peppers, 2014), pagal atlikto tyrimo duomenis3 – ir ne vienoje Europos valstybėje veikiančiuose teismuose dirba asmenys, padedantys teisėjams vykdyti teisingumą – teisėjų padėjėjai (angl. Judicial Assistants)4.
XXI amžiaus pradžioje nustačius vis didėjantį gaunamų bylų skaičių Lietuvos teismuose, siekiant sumažinti teisėjui tenkantį darbo krūvį, užtikrinti operatyvesnį ir kokybiškesnį bylų nagrinėjimą, išnagrinėti bylas mažesnėmis ekonominėmis sąnaudomis, sukurti natūralų ir gerai apmokytą teisėjų rezervą (Teismų tarybos 2004 m. birželio 11 d. ...), užtikrinti teismo veiklos efektyvumą, sumažinti teismo proceso trukmę (Teisėjų asociacijos 2003 m. spalio 3 d. ...; Teismų tarybos 2004 m. lapkričio 27 d. ...), de jure nuo 2002 m. gegužės 1 d. (Teismų įstatymas, 2002), de facto nuo 2004 metų (Lietuvos teismai. Informacija...; Teismų tarybos 2004 m. lapkričio 27 d. ...) Lietuvos teismuose pradėjo dirbti teisėjų padėjėjai.
Per daugiau nei dvidešimt metų nuo teisėjo padėjėjo pareigybės įsteigimo nei ši pareigybė, nei procesą reglamentuojantys įstatymai nebuvo iš esmės kaip nors modifikuoti. Tiek įsteigiant, tiek ir visą šios pareigybės egzistavimo teismų sistemoje laikotarpį teisėjų padėjėjai nebuvo ir nėra proceso dalyviai, tačiau teisėjų padėjėjai ir pradžioje, ir dabar padeda teisėjams ruoštis nagrinėti bylas teisme.
Teisėjų padėjėjai, padėdami teisėjams ruoštis nagrinėti bylas teisme, įgyja atitinkamų profesinių kompetencijų, kurios suformavo teisėjų padėjėjų profesinį vaidmenį5: jau po poros metų nuo teisėjo padėjėjo pareigybės įsteigimo Teismų tarybos sudaryta darbo grupė, atlikusi darbo krūvio apylinkių teismuose analizę, pripažino, kad didelę dalį darbų nagrinėjant supaprastintus procesinius dokumentus daugelyje teismų atlieka teisėjų padėjėjai (Teismų tarybos 2006 m. balandžio 7 d. ...); teisėjų padėjėjai sudarė ir sudaro didžiausią skaičių asmenų, kurie ne tik išlaiko pretendentų į teisėjus egzaminą, bet ir yra paskiriami naujais teisėjais (Teismų veiklos apžvalga 2014 m.; <...> Veiklos rezultatai 2022 m. ...). Teisėjų padėjėjų darbo svarbą ir reikšmingumą rodo Lietuvos Respublikos Vyriausybės 2012–2016 metais išsikeltas tikslas nuosekliai didinti teisėjų padėjėjų skaičių (Lietuvos Respublikos Seimo 2012 m. gruodžio 13 d. nutarimas...), taip pat aplinkybė, kad teisėjų padėjėjų etatų skaičius teismuose nuosekliai augo (Teismų tarybos 2004 m. birželio 4 d. ...; Teisėjų tarybos 2020 m. gruodžio 16 d. ...). Atlikus teismo proceso vedimo studiją (Teismo proceso vedimo studija, 20226) pateikta rekomendacija7 dar labiau stiprinti teisėjo padėjėjo vaidmenį padedant teisėjams ruoštis nagrinėti bylas teisme. Tačiau pastaruoju metu teisėjų padėjėjų vis labiau trūksta (Valstybinio audito ataskaita, 2020), pastebima, kad mąžta teisėjo padėjėjo pareigybės patrauklumas8.
Nors daugėja tyrimų apie tai, kaip teismo procesai ir teisinės sistemos veikia juose dirbančius asmenis (Gudaitė, Valickas, 2014; Valickas, Vanagaitė, 2015; Valickas, Vanagaitė, 2019; Erasmus et al., 2021; Teismų sistemos naujienos, 2022), Lietuvoje dar nėra atlikta tyrimų, analizuojančių teisėjo padėjėjo pareigybę, teisėjo padėjėjo institutą, jo reglamentavimą, teisėjo padėjėjo darbo įtaką teismo darbui ir sprendimų priėmimui (Teismo proceso vedimo studija, 2022). Užsienyje atliekami tyrimai, kurie padeda identifikuoti teisėjų padėjėjų darbo įtaką teisingumo vykdymo srityje, pavyzdžiui, nagrinėjama teisėjų padėjėjų motyvacija (Bieri, 2016), teisėjo padėjėjo pareigybės įsteigimo priežastys (Grendstad, et al., 2020), tikrinamos doktrininio teiginio, kad teisėjo padėjėjo darbas daro įtaką teisėjo priimamiems sprendimams, pagrįstumas (Holvast, Mascini, 2020), analizuojama, ar ir koks teisėjo veikimas9 nulemia didesnę ar mažesnę teisėjo padėjėjo darbo įtaką teisėjo priimamiems sprendimams (Mascini, Holvast, 2020), kokiomis sąlygomis teisėjo padėjėjo darbas tiesiogiai lemia teisėjo darbo laiką (Deyneli, Maskini, 2020), identifikuojami bendri požymiai, kuriais vadovaujantis būtų galima lyginti teisėjų padėjėjų pareigybes skirtingose jurisdikcijose (Sanders, 2020), aptariami teisėjų padėjėjų darbo etikos klausimai (Amouna, et al., 2022).
Atsižvelgus į aptartą nacionalinį kontekstą, pasirinkta atlikti tyrimą, kuriuo siekiama ištirti Lietuvos teisėjų padėjėjų profesinio saviveiksmingumo ir psichologinės gerovės ryšį atsižvelgiant į jų profesinį (darbinį) vaidmenį atliekant priskirtą veiklą.
Tyrimo objektas – bendrosios kompetencijos teismų ir specializuotų teismų teisėjo padėjėjo pareigybė, todėl netirta teisėjo vyresniojo padėjėjo pareigybė ir Lietuvos Respublikos Konstitucinio Teismo teisėjo padėjėjo pareigybė. Taip pat dėl tyrimo apimties netirtos aukščiausiųjų instancijų teismuose teisėjo padėjėjo pareigybei priskirtas funkcijas atliekančių teismo valstybės tarnautojų ir (ar) darbuotojų pareigybės, kitos teismo valstybės tarnautojų pareigybės.
Pirmas tyrimo uždavinys yra nustatyti teisėjų padėjėjų profesinį (darbinį) vaidmenį atliekant priskirtą veiklą. Įvertinus, kad teisingumo vykdymo procesas, jame veikiančių subjektų teisės ir pareigos reglamentuojami imperatyviai10, šis tyrimo uždavinys įgyvendinamas analizuojant teisėjų padėjėjų profesinį vaidmenį sudarančių elementų (teisėjų padėjėjų statuso, pareigybės tikslo (-ų) ir funkcijų) reglamentavimą. Šioje dalyje nesiekiama suformuluoti universalių (baigtinių) apibrėžimų.
Antras tyrimo uždavinys yra atlikti empirinį Lietuvos teisėjų padėjėjų profesinio saviveiksmingumo ir psichologinės gerovės ryšio tyrimą.
Siekiant identifikuoti teisėjų padėjėjų profesinį vaidmenį pagal priskirtą veiklą naudoti šie tyrimo metodai: istorinis (skirtas teisinio reguliavimo, lėmusio tyrimo objekto vystymąsi, tyrimui), dokumentų analizės (skirtas viešai skelbiamų Lietuvos teismuose patvirtintų teisėjo padėjėjo pareigybių tyrimui), teisės aiškinimo metodai (lingvistinis, teleologinis, sisteminis) (skirti teisėjo padėjėjo statuso, pareigybės tikslo (-ų) ir funkcijų, apskritai – teisės turiniui analizuoti). Antram tyrimo uždaviniui įgyvendinti atliktas koreliacinis tyrimas. Gautų rezultatų aptarimas ir išvados suformuluoti apibendrinimo metodu.
Tuo metu, kai atsirado teisėjo padėjėjo pareigybė, valstybės tarnyboje dirbo tik viešojo administravimo funkcijas atliekantys valstybės tarnautojai. Nors nuo teisėjo padėjėjo pareigybės įsteigimo momento nebuvo nustatyta, kad teisėjų padėjėjai atlieka kokias nors Viešojo administravimo įstatyme ir (ar) kituose įstatymuose nustatytas viešojo administravimo funkcijas, tačiau nuo teisėjų padėjėjų atsiradimo teismuose pradžios jie, kaip ir teismo pirmininko patarėjai, skyriaus pirmininko patarėjai ar teismo konsultantai, buvo priskirti prie teismo viešojo administravimo valstybės tarnautojų, kurie, kaip ir kiti teismo tarnautojai, turėjo užtikrinti tinkamą teismo funkcionavimą ir padėti teisėjams eiti pavestas pareigas11 (2002 m. sausio 24 d. Teismų įstatymo ...). Atitinkamai Teismų įstatyme (nuo 2002 m. gegužės 1 d. iki 2008 m. rugsėjo 1 d.) buvo tiesiogiai apibrėžta, kad teisėjų padėjėjai teisėjams teikia pagalbą, susijusią su įstatymų ir kitų teisės aktų analize, taikymu bei sisteminimu, bylos nagrinėti teismo posėdyje parengimu, procesinių dokumentų projektų rengimu, kitų teisėjo pareigų ir pavedimų, susijusių su teisėjo tiesioginėmis funkcijomis, atlikimu.
Praėjus daugiau nei penkeriems metams nuo teisėjo padėjėjo pareigybės įsteigimo, siekiant „suvienodinti teismo valdymą su Viešojo administravimo įstatymu“ (Aiškinamasis raštas „Dėl Lietuvos Respublikos ...), buvo atsisakyta, be kita ko, aptartų teisėjo padėjėjo veiklą apibrėžiančių nuostatų; vietoje to nustatyta, kad teisme dirba „teismo valstybės tarnautojai“; nebeliko nuorodos į „teisėjų padėjėjus“, dėl to tai, kad teismuose dirba „teisėjų padėjėjai“, liko tiesiogiai nustatyta tik Valstybės tarnybos įstatymo priede, nustatančiame valstybės tarnautojų pareiginių algų koeficientus; nors, kaip minėta, aptariamais pakeitimais nustatyta, kad teisme dirba „teismo valstybės tarnautojai“, tačiau tik apsiribojant nuoroda, kad dalis jų tiesiogiai padeda teisėjams eiti jiems pavestas pareigas, analizuoja ir apibendrina teismų praktiką, nenurodant apskritai nieko, ką daro „kiti valstybės tarnautojai“, dėl ko negalima identifikuoti, kuo jie skiriasi nuo tų, kurie, kaip minėta, tiesiogiai padeda teisėjams eiti jiems pavestas pareigas, analizuoja ir apibendrina teismų praktiką; nenurodyta, ką reiškia „tiesiogiai padeda teisėjams“ ar kokios pareigos yra pavestos teisėjams, kurias atlikti jiems turi padėti teismo valstybės tarnautojai, kurie tiesiogiai padeda teisėjams eiti jiems pavestas pareigas, analizuoja ir apibendrina teismų praktiką. Nors su šiais aptartais pakeitimais taip pat buvo atsisakyta nuostatos, kad teismo valstybės tarnautojai yra viešojo administravimo valstybės tarnautojai, tačiau tuo pačiu buvo (ir yra) nustatyta, kad teismo valstybės tarnautojų statusą tiesiogiai reglamentuoja viešojo administravimo valstybės tarnautojų statusą nustatantis Valstybės tarnybos įstatymas (2008 m. liepos 3 d. Teismų įstatymo ...), kuriame, nors, kaip minėta Teismų įstatyme buvo atsisakyta teisėjo padėjėjo veiklą apibrėžiančių nuostatų, irgi nėra apibrėžta, kas yra „teismo valstybės tarnautojas“.
Po maždaug dešimtmečio nuo teisėjo padėjėjo pareigybės įsteigimo priėmus naują Valstybės tarnybos įstatymo redakciją ir patikslinus valstybės tarnybos sampratą, valstybės tarnautojais pradėti laikyti ne tik viešojo administravimo funkcijas atliekantys valstybės tarnautojai, bet ir asmenys, atliekantys profesinę veiklą, kuria padedama, be kita ko, valstybės valdžią įgyvendinantiems asmenims atlikti jiems nustatytas funkcijas, išskyrus ūkinio ir (ar) techninio pobūdžio funkcijas12 (2018 m. birželio 29 d. Valstybės tarnybos įstatymo ...).
Taigi šiuo metu pagal Teismų įstatymą teismo valstybės tarnautojų, kurie padeda teisėjams eiti pavestas pareigas, analizuoja ir apibendrina teismų praktiką, darbą Lietuvos teismuose atlieka pagal teisėjo padėjėjo pareigybę įdarbinti teismo valstybės tarnautojai (Lietuvos vyriausiojo administracinio teismo 2019 m. ...), kurie Valstybės tarnybos įstatymo prasme „padeda asmenims, įgyvendinantiems valstybės valdžią, atlikti jiems nustatytas [profesines] funkcijas“.
Visa tai leidžia teigti, kad pagal teisėjo padėjėjo pareigybę įdarbintų valstybės tarnautojų, kurie pagal Teismų įstatymą priskirti teismo valstybės tarnautojams, teisinis statusas savaime neapibrėžia, kokią pagalbą teisėjams „eiti pavestas pareigas“ pagal Teismų įstatymą ir pagalbą teisėjams „atlikti jiems [asmenims, įgyvendinantiems valstybės valdžią,] nustatytas funkcijas“ pagal Valstybės tarnybos įstatymą teikia teisėjų padėjėjai.
Įvertinus anksčiau padarytą išvadą dėl teisėjo padėjėjo statuso turinio ir atsižvelgus į tai, kad teisėjo padėjėjo pareigybės darbo kryptis „užkoduota“ pareigybės pavadinime – „padėti“, šioje dalyje analizuojama, kiek teisėjo padėjėjo pareigybės tikslo reglamentavime iš anksto apibrėžiama, kokią pagalbą teisėjo padėjėjas turi teikti teisėjui.
Kaip minėta, nuo 2002 m. gegužės 1 d. iki 2008 m. rugsėjo 1 d. Teismų įstatyme buvo nustatyta, kad, be kita ko, teisėjo padėjėjas pataria teisėjui su įstatymų ir kitų teisės aktų analize, taikymu bei sisteminimu susijusiais klausimais, padeda teisėjui parengti bylas nagrinėti teismo posėdyje, rengia procesinių dokumentų projektus, padeda atlikti kitas teisėjo pareigas, taip pat vykdo kitus teisėjo pavedimus, susijusius su jų tiesioginėmis funkcijomis. Nors šis teikiamos pagalbos apibrėžimas buvo pakankamai detalus, vis dėlto pasakymas „padeda atlikti kitas teisėjo pareigas“ leido įvairiai interpretuoti teisėjų padėjėjų darbo turinį. Atsižvelgus į „kitų teisėjo pavedimų“ apibrėžimą, būtų galima teigti, kad „kitos pareigos“ turėjo būti susijusios tik su teisėjo tiesioginėmis funkcijomis. Tačiau nėra aišku, kas laikoma „teisėjo pareigomis“, kokios yra „teisėjo tiesioginės funkcijos“ ir atitinkamai – kokie „teisėjo pavedimai, susiję su jų tiesioginėmis funkcijos“ formuluojami teisėjo padėjėjui.
Nors nuo 2008 m. rugsėjo 1 d. aptariamas apibrėžimas buvo supaprastintas, tačiau tai neįnešė daugiau aiškumo teisėjo padėjėjo pareigybės tikslo apibrėžties aspektu, nes kartu Teismų įstatyme liko neapibrėžta, kokios yra teisėjams „eiti pavestos pareigos“, kurias tiesiogiai padėti atlikti turi teisėjų padėjėjai. Ši įstatyminė neapibrėžtis išliko ir išsprendus tarnybinį ginčą. Patikrinęs pirmosios instancijos administracinio teismo išvadą dėl tarnybinės nuobaudos, kuri buvo paskirta už netinkamą funkcijų, susijusių su pagalba teisėjui eiti jam pavestas pareigas, atlikimą, apeliacinės instancijos teismas išaiškino, jog teisėjo padėjėjas turi atlikti „visus teisėjo jam paskiriamus pavedimus, kurie tiesiogiai padeda teisėjui eiti jam pavestas funkcijas“ (Lietuvos vyriausiojo administracinio teismo 2019 m. ...). Kaip matyti, ir teismas detaliau neatskleidė, kas yra „vis[i] teisėjo [padėjėjui] paskiriam[i] pavedim[ai]“, išskirdamas tik vieną iš jų – parengti teismo baigiamųjų aktų (sprendimų, nutarčių, nuosprendžių) projektus, nepateikė išsamesnės „teisėjo pavedimų“ sampratos, suteikiančios daugiau aiškumo, ką konkrečiai teisėjų padėjėjai turi gebėti atlikti, padėdami teisėjams eiti pavestas pareigas, atlikti jiems nustatytas funkcijas.
Egzistavus (tebeegzistuojant) įstatyminei neapibrėžčiai, keitėsi ir teisėjo padėjėjo pareigybės tikslo detalizavimo kryptys. Po maždaug keturių mėnesių nuo teisėjo padėjėjo pareigybės įsteigimo Teismų taryba (nuo 2006 m. gegužės 27 d. – Teisėjų taryba)14 detalizavo aptartą tuo metu vieno iš teismo valstybės tarnautojų – teisėjo padėjėjo, vėliau – tarnautojo, atliekančio darbą pagal teisėjo padėjėjo pareigybę, pareigybės tikslą: iš pradžių teisėjo padėjėjo pareigybės tikslas buvo ne tik suteikti pagalbą teisėjui vykdyti teisingumą, bet ir padėti vykdyti kitas teisėjo pareigas, nesusijusias su teisingumo vykdymu; vėliau pastarosios tikslo dalies buvo atsisakyta.
Tai, kad teisėjo padėjėjo pareigybės tikslas buvo susijęs tik su pagalbos, susijusios su teisingumo vykdymu, teisėjui teikimu, galiojo iki 2020 m. gegužės 29 d., kuomet Teisėjų taryba patvirtino pavyzdinį teisėjo pareigybės aprašymą.
Šiuo metu nustatyti pagrindinis ir papildomas teisėjo padėjėjo pareigybės tikslai (specializacijos): pagrindinis – padėti teisėjui, teikiant pagalbą įstatymų ir kitų teisės aktų analizės ir taikymo klausimais ir rengimuisi nagrinėti bylas teismo posėdyje (šie teisėjo darbo aspektai įvertinti kaip vieni iš svarbiausių teisėjo darbe15); papildomas – rengti teisės aktų projektus ir kitus su teisės klausimais susijusius dokumentus.
Nors ir nebeliko aiškios teisėjo padėjėjo pareigybės tikslo (specializacijos) detalizavimo nuostatos, kad teisėjo padėjėjo pareigybės tikslas – padėti teisėjui eiti jam nustatytas pareigas teisingumo vykdymo srityje, tačiau galima daryti sisteminę išvadą, kad šią idėją įprasmina pagrindinis teisėjo padėjėjo pareigybės tikslas (specializacija), susieta išimtinai tik su teisėjo padėjėjo teikiama pagalba teisėjui, jam ruošiantis nagrinėti bylas teisme. Tačiau papildomas teisėjo padėjėjo pareigybės tikslas (specializacija) įneša neaiškumo dėl teisėjo padėjėjo profesinio vaidmens atliekamos veiklos turinio bei apimties aspektais, nustačius, kad teisėjo padėjėju dirbančiam asmeniui keliamas tikslas (gebėjimas) parengti ne tik teismo „procesinių dokumentų projektus“, bet ir teisės aktų projektus, taip pat – ne tik projektus, bet kitus su teisės klausimais susijusius dokumentus.
Tyrimo tikslu tirtos teisėjo padėjėjo pareigybės funkcijos, kurios teisėjų padėjėjų profesinio saviveiksmingumo ir psichologinės gerovės empirinio tyrimo atlikimo metu buvo patvirtintos Teisėjų tarybos16 ir Valstybės tarnybos departamento prie Lietuvos Respublikos vidaus reikalų ministerijos (toliau – Departamentas)17 bei tos, kurios buvo nustatytos skirtingų teismų patvirtintų teisėjo padėjėjo pareigybės aprašymuose18, kurie atitinkamai tvirtinami, vadovaujantis Teisėjų tarybos patvirtintu pavyzdiniu teisėjo padėjėjo pareigybės aprašymu19.
Nustatyta, kad: Departamento patvirtintame teisėjo padėjėjo pareigybės aprašymo ruošinyje nustatyta tik viena funkcija (t. y. apdoroja su teismo veikla susijusią informaciją), kurios nėra patvirtinusi Teisėjų taryba ir kuri nustatyta tik mažiausiai trijų viešai prieinamų skirtingų teismų patvirtintuose teisėjo padėjėjo pareigybės aprašymuose, o visos kitos Departamento patvirtintos funkcijos atitinka teisėjo padėjėjo pareigybės funkcijas, patvirtintas Teisėjų tarybos; skirtingų teismų patvirtintuose teisėjo padėjėjo pareigybės aprašymuose išvardytos visos Teisėjų tarybos patvirtintos teisėjo padėjėjo pareigybės funkcijos; nors skirtingų teismų teisėjo padėjėjo pareigybės aprašymuose buvo nustatyta daugiau funkcijų, nei jų buvo patvirtinusi Teisėjų taryba, tačiau jos iš esmės nekonkuravo, nepakeitė ir neišplėtė Teisėjų tarybos patvirtintų teisėjo padėjėjo pareigybės funkcijų tiek, kiek aktualu atlikto teisėjų padėjėjų profesinio saviveiksmingumo ir psichologinės gerovės empirinio tyrimo metu gautiems duomenims analizuoti ir vertinti.
Atsižvelgus į tai, kas nustatyta, ir į pasirinkimą teisėjo padėjėjo, kaip teismo valstybės tarnautojo, profesinę veiklą reglamentuoti pareigybės funkcijų aprašymo būdu, skirtingų teismų patvirtintų teisėjo padėjėjo pareigybės aprašymuose nustatytų funkcijų analizės rezultatai naudojami tik kaip iliustraciniai pavyzdžiai, pagrindines išvadas formuluojant pagal Teisėjų tarybos patvirtintas pavyzdines teisėjo padėjėjo pareigybės funkcijas.
Pirma. Teisėjo padėjėjo pareigybei priskirtos funkcijos, tiesiogiai susijusios su bylų nagrinėjimu20, teisėjų padėjėjų profesinės veiklos turinio galutinai neapibrėžia.
Viena vertus, funkcijos, tiesiogiai susijusios su bylų nagrinėjimu, pakankamai aiškiai leidžia įžvelgti, kad teisėjo padėjėjo profesinė veikla apsiriboja tiesiogine pagalba teisėjui pasirengti ir pasiruošti bylų nagrinėjimui, t. y. pagalba teisingumo vykdymo srityje, kas atitinka pagrindinį teisėjo padėjėjo pareigybės tikslą (specializaciją). Taip pat šios funkcijos aiškiai identifikuoja, kad teisėjo padėjėjas nepriima savarankiškų procesinių sprendimų, kas aiškiai nubrėžia teisėjo padėjėjo profesinės veiklos apimties ribą ir įprasmina teisėjo padėjėjo pareigybės pavadinime nusakytą darbo kryptį – „padėti“ teisėjui. Taip pat šios funkcijos suteikia aiškumo dėl galimų teisėjo padėjėjo profesinės veiklos raiškos formų (išvadų teikimas, medžiagos analizė ir kt.).
Kita vertus, atsižvelgus į tai, kad teisėjo padėjėjo pareigybė buvo ir yra skirta teikti teisėjui pagalbą ir, kaip nustatyta, pats teisėjo padėjėjas nepriima jokių savarankiškų teismo procesinių sprendimų, lieka iš anksto neatsakyta: ar teisėjo padėjėjas, padėdamas teisėjui ir su darbo stažu įgydamas vis daugiau atitinkamos profesinės kompetencijos, turi teisę savo iniciatyva atlikti iš anksto jo pareigybės aprašyme nustatytas funkcijas, ar jų vykdymas tiesiogiai priklauso nuo atskiro teisėjo pavedimo; ar teisėjo padėjėjas kiekvienu konkrečiu atveju, kai padeda teisėjui, turi atlikti visas ar tik dalį pareigybės aprašyme nustatytų funkcijų; ar teisėjo padėjėjas kiekvienu konkrečiu atveju turi (gali?) atlikti kitas funkcijas, kurios nėra tiesiogiai nurodytos teisėjo padėjėjo pareigybės aprašyme (pvz., skirtingų teismų patvirtintuose teisėjo padėjėjo pareigybės aprašymuose galima rasti tokių funkcijų, kaip teisės aktų ir kitų dokumentų įgyvendinimo stebėsena, informacijos registrams perdavimas, duomenų apie užsitęsusias bylas teikimas, procesinių terminų kontroliavimas), bet kurių atlikimas konkrečiu atveju, teisėjo padėjėjo ir (ar) teisėjo vertinimu, būtinas, norint tinkamai pasiruošti bylos nagrinėjimui; ar teisėjo padėjėjo pareigybės aprašyme nenurodytų funkcijų atlikimas turi būti įforminamas atskirai suformuluotu teisėjo pavedimu, jei taip – kokia forma ir būdais jie formuluojami ir (ar) fiksuojami bylos medžiagoje.
Atsižvelgus į tai ir į tai, kad teisėjas, vykdydamas teisingumą, yra nepriklausomas, draudžiamas bet koks kišimasis į jo veiklą, darytina išvada, kad kiekvienu individualiu atveju teisėjų padėjėjų profesinės veiklos turinys iš esmės priklauso nuo konkretaus teisėjo nuožiūros (valios) pavesti teisėjo padėjėjui atlikti konkrečias užduotis, skirtas pasiruošti bylos nagrinėjimui. Nors teismų veiklą reglamentuojančiuose vidaus teisės aktuose gali būti nustatytos tam tikros teisėjo darbo rekomendacijos ar gairės21 ar teisėjo darbo organizavimas teisėjo padėjėjo pavadavimo metu, tačiau, autorių žiniomis, nėra priimtų ir paskelbtų viešai norminių teisės aktų, kurie imperatyviai reguliuotų, kokius pavedimus teisėjas turi ir (ar) gali formuluoti jam padedančiam teisėjo padėjėjui.
Todėl nors teisėjo padėjėjo pareigybės funkcijos, tiesiogiai susijusios su bylų nagrinėjimu, iš anksto apibrėžtos teisėjo padėjėjo pareigybės aprašyme, tačiau jos savaime neatskleidžia išsamaus teisėjo padėjėjo profesinio vaidmens pagal atliekamą veiklą turinio.
Antra. Teisėjo padėjėjo pareigybei, be funkcijų, tiesiogiai susijusių su bylų nagrinėjimu, taip pat priskirtos funkcijos, netiesiogiai susijusios su bylų nagrinėjimu22.
Asmenys, kurie padeda valstybės valdžią įgyvendinantiems asmenims atlikti jiems nustatytas profesines funkcijas, neturi atlikti techninio pobūdžio funkcijų. Šiuo atveju neatskleidus kiekvienos iš funkcijų, netiesiogiai susijusių su bylų nagrinėjimu, turinio, sąsajų su funkcijomis, tiesiogiai susijusiomis su bylų nagrinėjimu, neaišku, ar visgi, pavyzdžiui, žyminio mokesčio mokėjimo užduočių sukūrimas, panaikinimas, sumokėto žyminio mokesčio įskaitymas, žyminio mokesčio grąžinimo užduoties kūrimas Lietuvos teismų informacinėje sistemoje LITEKO, procesinių dokumentų nuasmeninimas yra profesinio ar techninio pobūdžio funkcijos. Profesinių ir kitų funkcijų atskyrimas yra svarbus, nes jis nusako skirtingus darbinius vaidmenis (pvz., pagal Teismų įstatymą – „teismo valstybės tarnautojų, tiesiogiai padedančių teisėjams eiti pavestas pareigas, analizuojančių ir apibendrinančių teismų praktiką“; „kitų valstybės tarnautojų“; pagal Valstybės tarnybos įstatymą – „asmenų, atliekančių ūkinio ar techninio pobūdžio veiklą“; nuo 2024 m. sausio 1 d. – „atliekančių vidaus administravimą“).
Trečia. Teisėjo padėjėjo pareigybei priskirtinos ir kitos funkcijos, kurios, skirtingai nei aptartos, nėra susijusios su bylų nagrinėjimu, t. y. teisės aktų ir kitų teismo veiklos dokumentų projektų rengimas; skundų, pareiškimų, prašymų nagrinėjimas; atsakymų projektų rengimas; dalyvavimas darbo grupių, komisijų veikloje; kitų nenuolatinio pobūdžio su įstaigos veikla susijusių pavedimų vykdymas. Skirtingų teismų patvirtintuose teisėjo padėjėjo pareigybės aprašymuose galima rasti tokių funkcijų, kaip antai teismo atstovavimas renginiuose; visuomenės informavimo bei akcijų organizavimas ir vykdymas; susirašinėjimas su institucijomis, tarptautinėmis organizacijomis.
Kaip matyti, tokiomis funkcijomis teisėjo padėjėjui priskirtina vykdyti ne tik teisėjo, kuriam padedama vykdyti teisingumą, bet ir, pavyzdžiui, kito teismo pareigūno ar valstybės tarnautojo ir (ar) darbuotojo su teismo veikla susijusius nenuolatinio pobūdžio pavedimus ar atlikti veiksmus, kurie pagal savo pobūdį labiau priskirtini viešojo administravimo valstybės tarnautojų atliekamoms funkcijoms (pvz., skundų ir prašymų nagrinėjimas, atsakymų projektų rengimas), kitiems teismo tarnautojams ir (ar) darbuotojams, turintys užtikrinti teismo kaip įstaigos funkcionavimą.
Taigi aptartomis „kitomis funkcijomis, kurios nesusijusios su bylų nagrinėjimu“ yra formuojamas apskritai naujo teisėjo padėjėjo profesinio vaidmens lūkestis, kad teisėjo padėjėjas turi ne tik padėti teisėjui eiti pavestas pareigas, bet ir užtikrinti teismo, kaip valstybės valdžią įgyvendinančios įstaigos, tikslų ir funkcijų įgyvendinimą.
Teisėjų padėjėjų teisinis statusas – teismo valstybės tarnautojas – yra savitikslis: neatskleidžia, kokią „pagalbą“ teisėjams eiti pavestas pareigas, atlikti jiems nustatytas funkcijas turi teikti teisėjų padėjėjai; savaime neišskiria teisėjų padėjėjų iš kitų teismo valstybės tarnautojų ir iš kitų valstybės tarnautojų, padedančių kitiems asmenims įgyvendinti valstybės valdžią.
Pagrindinio teisėjo padėjėjo pareigybės tikslo (specializacija) ir funkcijų, susijusių su bylų nagrinėjimu, reguliavimo analizė atskleidžia, kad teisėjų padėjėjų profesinė veikla, susijusi su tiesiogine pagalba teisėjui eiti pavestas pareigas, atlikti nustatytas funkcijas, teisingumo vykdymo srityje išskiria teisėjų padėjėjus iš kitų valstybės tarnautojų, padedančių kitiems asmenims įgyvendinti valstybės valdžią. Laikantis, kad kiti teismo valstybės tarnautojai negali atlikti (neatlieka) teismo valstybės tarnautojams, t. y. teisėjų padėjėjams, priskirtų funkcijų, tokiu atveju minėti elementai išskiria teisėjų padėjėjus ir iš kitų teismo valstybės tarnautojų.
Tačiau pagrindinio ir papildomo teisėjo padėjėjo pareigybės tikslo (specializacijos) ir funkcijų, tiesiogiai ir netiesiogiai susijusių ir nesusijusių su bylų nagrinėjimu, reguliavimo analizė suponuoja egzistuojant teisėjo padėjėjo profesinių vaidmenų – „teismo valstybės tarnautojo, teikiančio tiesioginę pagalbą teisėjui eiti pavestas pareigas (bendriau – atlikti nustatytas funkcijas), teisingumo vykdymo srityje“; „kito teismo valstybės tarnautojo, įgyvendinančio teismo, kaip valstybės valdžios įstaigos, funkcijas“; „asmens, atliekančio techninio pobūdžio funkcijas, netiesiogiai susijusias su bylų nagrinėjimu“; „viešojo administravimo valstybės tarnautojo, atliekančio funkcijas, nesusijusias su bylų nagrinėjimu“ – konfliktą.
Darbo vaidmenų konfliktas gali būti apibrėžiamas kaip tarpusavyje nederantys nurodymai ar lūkesčiai (López-Cabarcos et al., 2023). Toks konfliktas tirtas ir teisės srityje tarp teisėsaugos darbuotojų – policininkų. Nustatyta, kad vaidmenų konfliktas stipriai susijęs su profesiniu saviveiksmingumu bei priešišku elgesiu darbovietėje, tokiu kaip antagonizmas, nepasitenkinimo rodymas, susierzinimas, panieka, nuoskaudų reiškimas (López-Cabarcos et al., 2023). Tačiau darbo vaidmenų konfliktas gali sumažinti darbuotojų profesinį saviveiksmingumą, o šis, savo ruožtu, gali paskatinti daugiau psichikos sveikatos nusiskundimų, taip neigiamai veikiančių darbuotojų psichologinę gerovę (Tomas, 2021).
Pagrindinio ir papildomo teisėjo padėjėjo pareigybės tikslo (specializacijos) ir funkcijų, tiesiogiai ir netiesiogiai susijusių ir nesusijusių su bylų nagrinėjimu, reguliavimo analizė atskleidžia teisėjų padėjėjų profesinio vaidmens neapibrėžtumus priskirtos atlikti veiklos turinio ir apimtiems aspektais.
Darbinio vaidmens neapibrėžtumas suprantamas kaip aiškiai įtvirtintų procedūrų darbe stoka, gali būti siejamas su perdegimu darbe ir suprastėjusiu darbo našumu (Wu et al., 2019). Kai nėra aiškumo, kokius konkrečius veiksmus turi atlikti darbuotojas, siekdamas jam pavestų tikslų, dažnai patiriama įvairių neigiamų emocinių išgyvenimų, darbuotojai ima stokoti pasitikėjimo savimi, mažėja pasitenkinimas darbu bei darbui atlikti dedamos pastangos (Mañas et al., 2018).
Aptartais darbo aspektais trūksta tyrimų teisės srityje, kitose srityse rezultatai nevienareikšmiški, pavyzdžiui, kai kur darbo vaidmenų konfliktas paveikia tik perdegimą (Wu et al., 2019), bet ne darbo našumą.
Taigi yra tikimybė, kad teisėjų padėjėjų profesiniame vaidmenyje identifikuotas profesinių vaidmenų konfliktas ir teisėjų padėjėjų darbinio vaidmens neapibrėžtumai gali turėti įtakos jų psichologinei būklei. Vienas iš būdų patikrinti šią prielaidą – tirti su profesinių vaidmenų konfliktu ir darbinio vaidmens neapibrėžtumais susijusius psichologinius konstruktus – profesinį saviveiksmingumą ir psichologinę gerovę.
Profesinis saviveiksmingumas reiškia asmens tikėjimą sėkmingai atlikti darbą (Rigotti et al., 2008). Žmonės, kurie pasižymi aukštu profesiniu saviveiksmingumu, sudėtingas užduotis laiko iššūkiais, leidžiančiais tobulėti, investuoja daugiau pastangų nesėkmės akivaizdoje, išsikelia tikslus, kuriuos įsipareigoja įgyvendinti (Schunk, Pajares, 2009). Tie, kurių profesinis saviveiksmingumas yra žemas, tiki, kad įvairios aplinkybės yra sudėtingesnės nei yra iš tikrųjų, o toks tikėjimas gali paskatinti nerimą, stresą, siaurą matymą, kaip spręsti problemas. Profesinis saviveiksmingumas gali paveikti: pasitenkinimą darbu (Guarnaccia et al., 2018), asmens įsitraukimą į darbą (Liu, Huang, 2019; Žukauskaitė et al., 2019), įsipareigojimą organizacijai (Liu, Huang, 2019), sprendimų priėmimą (Schunk, Pajares, 2009), vidinę motyvaciją (Çetin, Askun, 2017). Svarbu, kad aukštas profesinis saviveiksmingumas ne tik rodo žmogaus efektyvumą konkrečioje aplinkoje ar srityje (Grether 2018), bet yra susijęs ir su psichologine gerove (Ala-Kortesmaa, Isotalus, 2014).
Bendrąja prasme gerovė apibūdinama kaip asmeninių išteklių kaupimo ir susidūrimo su iššūkiais pusiausvyra (Dodge et al., 2012). Geriausiai gerovės sampratą atskleidžia du vyraujantys požiūriai: hedonistinis ir eudaimoninis (Šarakauskienė, Bagdonas, 2011). Hedonistinis požiūris į gerovę dažnai prilyginamas subjektyviai gerovei ir apima malonumo siekimą, pasitenkinimą, komfortą, skausmo nebuvimą, atsipalaidavimą (Kahneman et al., 1999; Huta, 2015). Eudaimoninis – prasmingumo jausmą, savirealizaciją, darymą to, kas yra vertinga ir prisideda prie individualaus augimo (Ryan, Deci, 2001). Gerovės sąvoka, kuri remiasi eudaimoniniu požiūriu, dažnai yra vadinama psichologine gerove.
Profesinio saviveiksmingumo ir psichologinės gerovės ryšį galima aiškinti dvejopai. Remiantis Bandura (1997), siekiant didinti profesinį saviveiksmingumą, reikia užtikrinti aukštą ne tik fizinę, bet ir emocinę gerovę, nes tik tada asmuo geba keisti savo mintis ir jausmus tam tikru būdu. Taip pat teigiami santykiai su aplinkiniais (Ryff, Singer, 2008; Blasco-Belled, Alsinet, 2022), pasitenkinimas tarpasmeniniais santykiais (Kairys et al., 2013) yra tai, kas jungia profesinį saviveiksmingumą ir psichologinę gerovę. Pasitelkus socialinę kognityvinę teoriją galima teigti, kad matymas panašių į save žmonių, kurie investuoja daug pastangų, kelia stebėtojo aspiracijas ir didina tikėjimą savo gebėjimais (Bandura, 2012). Tai leidžia teigti, kad siekiant, jog teisėjų padėjėjai darbą atliktų efektyviai, svarbu rūpintis jų psichologine gerove, kuri reikšmingai prisideda prie tinkamų sąlygų formuotis aukštam profesiniam saviveiksmingumui.
Nors ankstesnių tyrimų rezultatai patvirtina tiesioginį ryšį tarp profesinio saviveiksmingumo ir psichologinės gerovės, tačiau gaunama ir nevienareikšmiškų rezultatų, analizuojant konkrečius profesinį saviveiksmingumą lemiančius veiksnius, kurie neapsiriboja psichologinės gerovės įverčiais. Tyrimai atskleidžia, kad profesinis saviveiksmingumas gali būti susijęs ir su socialiniais-demografiniais veiksniais (pavyzdžiui, amžiumi ir lytimi), taip pat krūviu, darbo stažu (Rigotti et al., 2008; Clauss et al., 2021). Tiriant psichologinę gerovę visgi gaunama prieštaringų rezultatų apie tai, kaip būtent psichologinė gerovė yra susijusi su socialiniais-demografiniais veiksniais, kurie lemia profesinį saviveiksmingumą, pavyzdžiui, darbo vieta (Organ, 2011; Schrever et al., 2021), darbo stažu (Organ, 2011; Padhy et al., 2015), krūviu (Krieger, Sheldon, 2015; Rossouw, Rothmann, 2020), pasitikėjimo jausmu darbe (Hakanen et al., 2012; Guinot et al., 2021).
Įvertinus aptartą problematiką, pasirinkta profesinio saviveiksmingumo ir psichologinės gerovės ryšį nustatyti, atlikus profesinio saviveiksmingumo ir psichologinės gerovės empirinį tyrimą.
Tyrime dalyvavo 269 teisėjų padėjėjai (230 moterų (85,5 %) ir 39 vyrai (14,5 %) nuo 22 iki 61 metų (M23 = 35,99 m.; SD = 7,67 m.), kurių darbo stažas yra 6,93 m. (SD = 4,74 m., mažiausias – 1 mėnuo, didžiausias – 20 metų). Tyrimo dalyviai elektroniniu paštu kviesti dalyvauti anoniminėje anketinėje apklausoje Google Survey platformoje. Anketinė apklausa buvo vykdoma nuo 2021 m. gruodžio 10 d. iki 2022 m. vasario 23 d. Anketinės apklausos rezultatai buvo pristatyti Teisėjų padėjėjų asociacijos nariams.
Nustatyta, kad 2021 metų finansuojamų teisėjų padėjėjų pareigybių skaičius Lietuvos teismuose siekė 775 (Teisėjų tarybos 2020 m. gruodžio 16 d. nutarimas...). Tačiau Lietuvos Respublikos valstybės kontrolės valstybinio audito ataskaita „Teismų sistema“ atskleidė, jog neužimtų 2019 metais trūko 102 teisėjų padėjėjų ir teisėjų padėjėjų trūkumas kasmet auga (Valstybinio audito ataskaita, 2020). Surinkta tyrimo imtis sudaro ne mažiau kaip 30 % tyrimo atlikimo metu dirbusių teisėjų padėjėjų.
Tyrime dalyvavo 30 (11,20 %) teisėjų padėjėjų, kurių darbo vieta priskirta Lietuvos teismų veiklos teritorijai (Lietuvos Aukščiausiajam Teismui, Lietuvos vyriausiajam administraciniam teismui, Lietuvos apeliaciniam teismui), 45 (16,70 %), kurių darbo vieta priskiriama Vilniaus, 79 (29,40 %) – Kauno, 44 (16,40 %) – Klaipėdos, 44 (16,40 %) – Šiaulių ir 27 (10 %) Panevėžio teismų veiklos teritorijai.
Psichologinei gerovei įvertinti naudota Papildoma lietuviškoji psichologinės gerovės skalė (LPGS-P) (Kairys et al., 2013), kuria sudaro 17 teiginių, sudarant galimybę tyrimo dalyviams nevertinti jų situacijai netinkančių aspektų, iš kurių – 13 susijusių su sritimis, kurios potencialiai svarbios žmogaus gyvenime, 3 leidžiantys įvertinti gyvenimą praeityje, dabartyje ir ateities perspektyvas ir 1 leidžiantis įvertinti bendrai jaučiamą pasitenkinimą. Teiginiai vertinami balais skalėje nuo 0 iki 10, kai 0 reiškia „visiškai nepatenkintas“, 10 – „visiškai patenkintas“. Remiantis tyrėjų rekomendacijomis, šiame tyrime naudojamas suminis balas (visų teiginių vidinio suderintumo koeficientas Cronbach alfa yra 0,930) bei atskirų gerovės sričių vertinimai, LPGS-P subskalės nėra analizuojamos.
Profesiniam saviveiksmingumui įvertinti naudota Schyns ir von Collani (2002) sukurta trumpoji Profesinio saviveiksmingumo skalės (OCCSEFF) versija (Žukauskaitė et al., 2019). OCCSEFF skalę sudaro 8 teiginiai, atsakymai vertinami 5 balų Likerto skale: nuo 1 „visiškai nesutinku“ iki 5 „visiškai sutinku“. Skaičiuojamas saviveiksmingumo rodiklis, kuris gaunamas apskaičiavus atsakymų į teiginius vidurkį. Didesni profesinio saviveiksmingumo rodiklio balai reiškia geresnį profesinio saviveiksmingumo vertinimą. Trumpoji OCCSEFF skalė pasižymi gana geromis psichometrinėmis charakteristikomis, Cronbacho alfa koeficientas yra 0,881 (Žukauskaitė et al., 2019).
Tyrimo dalyviams buvo pateikti teiginiai apie socialinius-demografinius veiksnius (pvz., lytį, amžių, darbo stažą).
Tiriamųjų buvo prašoma įvertinti, kiek sutinka su pateiktais teiginiais, susijusiais su darbo ypatumais: „Dažniausiai mano darbo krūvis yra per didelis“, „Darbe esu vertinama (-as) ir manimi pasitikima.“ (taikyta 5 balų skalė, kai 1 – „visiškai nesutinku“, 5 – „visiškai sutinku“).
Tyrime dalyvavusių teisėjų padėjėjų psichologinės gerovės ir kitų konstruktų aprašomoji statistika pateikiama 1 priede, o psichologinės gerovės suminio įverčio bei pasitenkinimo tam tikromis gyvenimo sritimis, profesinio saviveiksmingumo, amžiaus, darbo stažo, suvokto darbo krūvio ir vertingumo darbe koreliacijos – 2 priede.
Tyrime dalyvavusių teisėjų padėjėjų profesinio saviveiksmingumo įvertimų vidurkis viršija 4 balus (M = 4,28; SD = 0,61). Palyginus Lietuvos teisėjų padėjėjų profesinį saviveiksmingumą su kito Lietuvoje atlikto darbuotojų profesinio saviveiksmingumo tyrimo duomenimis (Žukauskaitė et al., 2019), būtų galima teigti, kad teisėjų padėjėjų profesinis saviveiksmingumas yra statistiškai reikšmingai aukštesnis, nes 5 balų skalėje nuo 1 iki 5 tyrime dalyvavusių teisėjų padėjėjų įvertimų vidurkis viršija 4 balus, yra M = 4,28 (SD = 0,61; žr. 1 priedą), o Žukauskaitės ir kt. (2019) tyrime dalyvavusių viešojo sektoriaus organizacijų specialistų pareigas einančių darbuotojų profesinio saviveiksmingumo vidurkis M = 3,97 (SD = 0,44) (vidurkių skirtumų t (df) = -10,07 (1903); p < 0,001, Cohen‘s d = 0,58). Tačiau tokią prielaidą reikėtų tikrinti papildomai, atsižvelgus ne tik į tikslinių tyrimų grupių profesinės veiklos skirtumus, bet ir į atliktų tyrimų imtis (apklausoje dalyvavo 269 teisėjų padėjėjai, o viešojo sektoriaus organizacijų specialistų pareigas einančių darbuotojų apklausoje dalyvavo 1 636).
Teisėjų padėjėjų profesinis saviveiksmingumas panašus visose teismų veiklos teritorijose (F24 = 0,904, df = 5, p = 0,479).
Teisėjų padėjėjų moterų profesinis saviveiksmingumas (M = 0,66, SD = 0,21) statistiškai reikšmingai nesiskiria nuo vyrų (M = 0,59, SD = 0,18; t (267) = 1,67; p = 0,068)25).
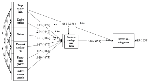
Siekiant nustatyti teisėjų padėjėjų profesinio saviveiksmingumo ir psichologinės gerovės ryšį atlikta kelių analizė (angl. path analysis) remiantis psichologinės gerovės suminio įverčio, pasitenkinimo atskiromis gyvenimo sritimis, profesinio saviveiksmingumo, amžiaus, darbo stažo, suvokto darbo krūvio ir vertingumo darbe koreliacijomis (žr. 2 priedą).
Gautas Modelis (kitaip – kelių analizė) (žr. 1 pav.) pasižymi gerais suderinimo indeksais: RMSEA reikšmė yra iki 0,05, t. y. ribose (RMSEA = 0,05; p = 0,401); CFI ir TLI koeficientai yra didesni už 0,95 (CFI = 0,982; TLI = 0,953); O χ2 nėra statistiškai reikšmingas (χ2 = 8,66; df = 5; p = 0,123). Modelyje naudojami kintamieji nepasižymi multikolinearumu (visų kintamųjų rs < 0,70).

1 pav. Teisėjų padėjėjų profesinio saviveiksmingumo ir psichologinės gerovės ryšys
Pastaba. * p < 0,05; ** p < 0,01; *** p < 0,001.
Modelio rezultatai atskleidžia, kad teisėjų padėjėjų profesinį saviveiksmingumą reikšmingai veikia pasitenkinimas tarpasmeniniais santykiais (β = 0,66; p < 0,001) ir suvoktas vertingumas darbe (β = 0,45; p < 0,001) (žr. 1 pav.). Taip pat gauti rezultatai atskleidžia, kad suvoktą vertingumą darbe nulemia pasitenkinimas tarpasmeniniais santykiais (β = 0,21; p = 0,006), pasitenkinimas darbu (β = 0,26; p < 0,001) ir vis didėjantis darbo stažas (β = 0,29; p < 0,001).
Teisėjų padėjėjų, kaip teismo valstybės tarnautojų, savaime statusas neišskiria teisėjų padėjėjų iš kitų (teismo) valstybės tarnautojų. Tai padaro šiuo metu pagrindinis teisėjo padėjėjo pareigybės tikslas (specializacija) ir funkcijos, tiesiogiai susijusios su bylų nagrinėjimu.
Pagrindinio teisėjo padėjėjo pareigybės tikslo (specializacija) ir funkcijų, tiesiogiai susijusių su bylų nagrinėjimu, reguliavimas pakankamai aiškiai atskleidžia teisėjų padėjėjų profesinio vaidmens ribas ir įprasmina teisėjų padėjėjų darbo kryptį „padėti“: teisėjų padėjėjai savarankiškai nepriima galutinių teismo procesinių sprendimų, tiesiogiai padedami teisėjams eiti pavestas pareigas teisingumo vykdymo srityje.
Neapibrėžus, kokias teisėjui eiti pavestas pareigas teisėjo padėjėjas padeda teisėjui atlikti, pagrindinio teisėjo padėjėjo pareigybės tikslo (specializacija) reguliavimas palieka vietos diskreciniam apsisprendimui dėl teisėjo padėjėjo šiame profesiniame vaidmenyje atliekamos darbinės veiklos turinio.
Teisėjo padėjėjo profesinio vaidmens darbinės veiklos išsamaus turinio neatskleidžia ir teisėjo padėjėjo pareigybės funkcijų, tiesiogiai susijusių su bylų nagrinėjimu, reglamentavimas, nustačius, kad kiekvienu individualiu atveju teisėjo padėjėjo šiame vaidmenyje atliekamos veiklos turinys priklauso nuo teisėjo, kuriam teisėjo padėjėjas padeda, apsisprendimo pavesti teisėjo padėjėjui atlikti jo pareigybės aprašyme nustatytas funkcijas ir (ar) formuoti atskirus pavedimus (užduotis), kurie, teisėjo vertinimu, reikalingi eiti jam pavestas pareigas, atlikti jam nustatytas funkcijas teisingumo vykdymo srityje, ruošiantis nagrinėti bylas teisme.
Teisėjo padėjėjo pareigybės funkcijų, netiesiogiai susijusių su bylų nagrinėjimu, turinio aiškumo stoka neleidžia nustatyti konkretaus teisėjų padėjėjų profesinio vaidmens, atliekant būtent šias funkcijas.
Papildomas teisėjo padėjėjo pareigybės tikslas (specializacija) ir atitinkamai funkcijos, nesusijusios su bylų nagrinėjimu, formuoja naujo teisėjo padėjėjo profesinio vaidmens lūkestį, kuris susijęs su veikla, skirta užtikrinti teismo, kaip valstybės valdžios įstaigos, funkcionavimą.
Teisėjo padėjėjo darbinio (profesinio) vaidmens reguliavimo analizė atskleidžia egzistuojant teisėjo padėjėjo profesinių vaidmenų konfliktą ir darbinio vaidmens neapibrėžtumus bei įvairūs tyrimai rodo, kad tiek profesinių vaidmenų konfliktas, tiek darbinio vaidmens neapibrėžtumai gali įvairiai neigiamai veikti darbuotojų darbo našumą, motyvaciją, sukelti perdegimą ir kt. (Mañas et al., 2018; Wu et al., 2018; Wu et al., 2019). Tačiau pirmą kartą apklausus pakankamai reprezentatyvią teisėjų padėjėjų imtį ir atlikus teisėjų padėjėjų profesinio saviveiksmingumo ir psichologinės gerovės empirinį tyrimą, gauti tyrimo rezultatai nerodo reikšmingo neigiamo poveikio teisėjų padėjėjų profesiniam saviveiksmingumui ir psichologinei gerovei. Priešingai, nustatyta, kad teisėjų padėjėjų profesinis saviveiksmingumas yra santykinai aukštas. Vis dėlto šis rezultatas gali neatspindėti realios situacijos.
Pirmiausia atkreiptinas dėmesys į tyrime dalyvavusių teisėjų padėjėjų darbo stažą. Sprendžiant iš darbo stažo vidurkio, kuris yra beveik 7 metai, matyti, kad tyrime daugiausia dalyvavo reikšmingą darbo patirtį turintys teisėjų padėjėjai, per tiek laiko įgiję atitinkamą profesinę kompetenciją teisminiuose procesuose. Atitinkamai atlikta kelių analizė atskleidžia, kad, didėjant darbo stažui, didėja suvoktas vertingumas darbe ir savo ruožtu profesinis saviveiksmingumas. Antra, svarbu atsižvelgti į apklausos teiginį „Jaučiuosi darbe vertinamas, manimi pasitikima“. Tyrimo dalyvių atsakymų į šį teiginį vidurkis yra apie 4 balus iš 5 balų. Dėl to keltina prielaida, jog tyrime dalyvavo teisėjų padėjėjai, kurie jaučiasi vertinami ir (ar), kad jais pasitiki teisėjai, kuriems jie padeda. Tai leistų teigti, kad tyrime greičiausiai nedalyvavo arba dalyvavo kur kas mažiau teisėjų padėjėjų, kurie nesijaučia vertinami ir (ar), kad jais pasitiki teisėjai, kuriems jie padeda. Trečia, taip pat gauti suvokto vertingumo darbe ir profesinio saviveiksmingumo įverčiai galėtų būti aiškinami socialinio pageidaujamumo efektu, kuris pasireiškia tuo, kad tyrimo dalyviai atsako į klausimus taip, kaip jiems atrodo labiausiai priimtina. Pavyzdžiui, teisėjų padėjėjai, skaitydami teiginius, susijusius su profesiniu saviveiksmingumu, tokius kaip „Jei darbe man iškyla problema, dažniausiai aš surandu išeitį“ arba „Aš jaučiuosi pasiruošęs (-usi) įvykdyti daugumą reikalavimų savo darbe“, galėjo manyti, kad iš jų tikimasi, jog jie visada turi jaustis tinkamai atliekantys savo darbą, neabejojantys savo sugebėjimais, iškilus problemai, surasti išeitį, įvykdyti nustatytas funkcijas ir (ar) konkretaus teisėjo pavedimus.
Siekiant nustatyti teisėjų padėjėjų profesinio saviveiksmingumo ir psichologinės gerovės ryšį, nustatyta, kad teisėjų padėjėjų, kurie dalyvavo tyrime, psichologinė gerovė statistiškai reikšmingai susijusi su profesiniu saviveiksmingumu. Tai reiškia, kad teisėjų padėjėjai, labiau tikintys, kad gali gerai atlikti savo darbą, gali jaustis labiau patenkinti įvairiomis savo gyvenimo sritimis, ir atvirkščiai.
Atlikta kelių analizė atskleidžia, kad teisėjų padėjėjų profesinį saviveiksmingumą geriausiai nuspėja pasitenkinimas tarpasmeniniais santykiais ir suvoktas vertingumas darbe. Kitaip tariant, tikėtina, kad teisėjų padėjėjai, kurie yra labiau patenkinti tarpasmeniniais santykiais ir jaučia daugiau pasitikėjimo ir vertinami darbe, labiau tikės galintys gerai atlikti savo darbą. Savo ruožtu, teisėjų padėjėjų, kurie dalyvavo tyrime, suvoktą vertingumą darbe geriausiai nuspėja pasitenkinimas tarpasmeniniais santykiais ir darbu bei didėjantis darbo stažas. Tai reiškia, kad teisėjų padėjėjai, kurie ilgiau dirba šį darbą, yra juo ir savo turimais tarpasmeniniais santykiais labiau patenkinti, gali jaustis labiau vertinami darbe ir kad jais labiau pasitikima.
Kaip minėta, nepaisant iš anksto apibrėžtų teisėjo padėjėjo pareigybės funkcijų, kiekvienu individualiu atveju teisėjų padėjėjų profesinės veiklos turinys priklauso nuo konkretaus teisėjo nuožiūros (valios) pavesti atlikti tam tikras užduotis, suformuoti tam tikrus pavedimus, besiruošiant nagrinėti bylas. Atlikta kelių analizė parodė, kad teisėjų padėjėjų profesinį saviveiksmingumą geriausiai nuspėja pasitenkinimas tarpasmeniniais santykiais ir teisėjų padėjėjų suvoktas jų vertingumas darbe, o suvoktą vertingumą darbe – pasitenkinimas tarpasmeniniais santykiais, pasitenkinimas darbu ir didėjantis darbo stažas. Tokius rezultatus natūraliai atliepia byla dėl tarnybinio ginčo, kuris kilo dėl įsakymo teisėjo padėjėjai kelti kvalifikaciją. Šioje byloje teisėja, kuriai teisėjo padėjėja, kuriai buvo įsakyta kelti kvalifikaciją, tiesiogiai padėjo, rengiantis bylų nagrinėjimui, buvo paklausta, ar ji pasitikėjo jai padėjusia teisėjo padėjėja, skirdama jai atlikti konkrečias užduotis (Lietuvos vyriausiojo administracinio teismo 2015 m. ...). Taigi teisėjo pasitikėjimas teisėjo padėjėju yra reikšmingas darbo aspektas, siekiant įgyvendinti teisėjo padėjėjo pareigybės tikslą, t. y. tiesiogiai padėti teisėjui eiti pavestas pareigas. Todėl keltina prielaida, kad teisėjo tarpasmeninis santykis su jam padedančiu teisėjo padėjėju gali būti svarbus, tiesiogiai nematomas ir dar netirtas teisėjo padėjėjo pasitenkinimo darbu, taip pat jausmo, kad jis yra vertingas darbe, ir profesinio saviveiksmingumo veiksnys.
Įvertinus teisėjo padėjėjo pareigybės įsteigimo tikslus teisėjų padėjėjų statuso, pareigybės tikslo (-ų) ir funkcijų reglamentavimo analizės rezultatų kontekste, pavyzdžiui, siūlytina: mažinti identifikuotą teisėjų padėjėjų profesinių vaidmenų konfliktą, pavyzdžiui, atsisakant teisėjo padėjėjo pareigybei priskirto papildomo tikslo (specializacijos) ir nustatytų funkcijų, nesusijusių su bylų nagrinėjimu; mažinti teisėjų padėjėjų darbinio vaidmens neapibrėžtumus, pavyzdžiui, suteikiant teismo valstybės tarnautojams, kurie šiuo metu atlieka teisėjo padėjėjo pareigybei priskirtas funkcijas, aiškesnius įgaliojimus išimtinai su bylų nagrinėjimu susijusioje srityje.
Atsižvelgiant į teisėjų padėjėjų profesinio saviveiksmingumo ir psichologinės gerovės empirinio tyrimo rezultatus ir jo ribotumus, manytina, kad tikslinga tokio pobūdžio tyrimus kartoti, siekiant atliepti teismo valstybės tarnautojų, šiuo metu atliekančių teisėjo padėjėjo pareigybei priskirtas funkcijas, ne tik darbinius, bet ir psichologinius poreikius, prisidėti prie aiškesnio teisminės sistemos funkcionavimo ir teisingumo vykdymo.
1. Teisėjų padėjėjų profesinis (darbinis) vaidmuo yra neaiškus dėl identifikuoto teisėjų padėjėjų profesinių vaidmenų konflikto ir darbinio vaidmens neapibrėžtumų.
2. Teisėjų padėjėjų psichologinė gerovė statistiškai reikšmingai susijusi su profesiniu saviveiksmingumu, kurį geriausiai prognozuoja pasitenkinimas tarpasmeniniais santykiais ir suvoktas vertingumas darbe. Savo ruožtu, teisėjų padėjėjų suvoktą vertingumą darbe geriausiai nuspėja pasitenkinimas tarpasmeniniais santykiais, pasitenkinimas darbu ir didėjantis darbo stažas.
Lietuvos Respublikos Konstitucija (1992). Lietuvos Aidas, 33-1014.
Lietuvos Respublikos teismų įstatymas (1994, 2002). Valstybės žinios, 46-851, 17-649.
Lietuvos Respublikos teismų įstatymo 33, 34, 36, 38, 39, 42, 43, 47, 51, 55-1, 57, 61, 63, 64, 69-1, 81 straipsnių, IX skyriaus pavadinimo, 83, 84, 85, 86, 90, 98, 101, 103 straipsnių, XII skyriaus antrojo skirsnio pavadinimo, 106, 107, 108, 119, 120, 122, 124, 127, 128, 129 straipsnių pakeitimo ir papildymo, 89, 109, 110, 111, 112, 125 straipsnių pripažinimo netekusiais galios ir Įstatymo papildymo 53-1, 53-2 straipsniais ir IX skyriaus trečiuoju skirsniu įstatymas (2008). Valstybės žinios, 81-3186.
Lietuvos Respublikos valstybės tarnybos įstatymas (1999, 2002, 2018, 2023). Valstybės žinios, 66-2130, 45-1708, 2018-12037, 2023-11556.
Lietuvos Respublikos viešojo administravimo įstatymas (1999, 2006, 2020). Valstybės žinios, 60-1945, 77-2975. TAR, 2020-12819.
Lietuvos Respublikos viešojo administravimo įstatymo Nr. VIII-1234 2 straipsnio pakeitimo įstatymas (2023). TAR, 2023-11585.
Teisėjų tarybos 2008 m. balandžio 25 d. nutarimas Nr. 13P-50-(7.1.2) „Dėl teismo procesinių sprendimų kategorijų klasifikatorių bei kategorijų priskyrimo ir žymėjimo tvarkos pakeitimo“ (paskelbta institucijos).
Teisėjų tarybos 2009 m. gegužės 29 d. nutarimas Nr. 13P-88-(7.1.2) „Dėl Pavyzdinių apygardų, apygardų administracinių ir apylinkių teismų valstybės tarnautojų ir darbuotojų, dirbančių pagal darbo sutartis, pareigybių aprašymų patvirtinimo“ (paskelbta institucijos).
Teisėjų tarybos 2016 m. balandžio 29 d. nutarimas Nr. 13P-56-(7.1.2) „Dėl baudžiamųjų ir civilinių bylų kategorijų bei teismo procesinių sprendimų baudžiamosiose ir civilinėse bylose kategorijų klasifikatorių patvirtinimo“ (paskelbta institucijos).
Teisėjų tarybos 2016 m. rugsėjo 30 d. nutarimas Nr. 13P-102-(7.1.2) „Dėl administracinių ir administracinių nusižengimų bylų kategorijų bei teismų procesinių sprendimų administracinėse ir administracinių nusižengimų bylose kategorijų klasifikatorių patvirtinimo“ (paskelbta institucijos).
Teisėjų tarybos 2020 m. gegužės 29 d. nutarimas Nr. 13P-61-(7.1.2) „Dėl pavyzdinių apylinkių, apygardų ir apygardų administracinių teismų valstybės tarnautojų pareigybių aprašymų patvirtinimo“ (paskelbta institucijos).
Teisėjų tarybos 2021 m. gruodžio 20 d. nutarimas Nr. 13P-163 -(7.1.2.) „Dėl Žyminio mokesčio apskaitos teismuose taisyklių patvirtinimo“. TAR, 2021-12-22, 2021-26503.
Teismų tarybos 2004 m. gruodžio 17 d. nutarimas Nr. 306 „Dėl administracinių, baudžiamųjų ir civilinių bylų bei teismų procesinių sprendimų šiose bylose klasifikavimo“ (paskelbta institucijos).
Teismų tarybos 2005 m. rugsėjo 9 d. nutarimas Nr. 13P-378 „Dėl teismų sprendimų, nuosprendžių, nutarimų ir nutarčių skelbimo internete tvarkos patvirtinimo“ (paskelbta institucijos).
Valstybės tarnybos departamento direktoriaus 2020 m. kovo 31 d. įsakymas Nr. 27V-31 „Dėl Valstybės tarnautojų pareigybių aprašymų ruošinių ir bendrųjų, vadybinių ir lyderystės, specifinių ir bendrosios veiklos srities profesinių kompetencijų aprašymų patvirtinimo“. TAR, 2020-04-01, 2020-06733.
Ala-Kortesmaa, S., Isotalus, P. (2014). Professional listening competence promoting well-being at work in the legal context. International Journal of Listening, 29(1), 30–49, https://doi.org/10.1080/10904018.2014.937529
Amouna, D., Nollet, E., Valluy, L. (2022). Judicial Assistants: Ethical and Manegerial Corcerns. Themis Annual Journal, 4(1), p. 208–225.
Baier, P. (1973). The Law Clerks: Profile of an Institution. Journal Articles, 26, 1125–1177.
Bandura, A. (1997). Self-efficacy: The exercise of control. New York: Freeman.
Bandura, A. (2012). On the functional properties of perceived self-efficacy revisited. Journal of Management, 38(1), 9–44.
Bieri, P. (2016). Law Clerks In Switzerland – A Solution To Cope With The Caseload? International Journal for Court Administration, 7(2), 29–38.
Blasco-Belled, A., Alsinet, C. (2022). The architecture of psychological well-being: A network analysis study of the Ryff Psychological Well-Being Scale. Scandinavian Journal of Psychology, 1–9, https://doi.org/10.1111/sjop.12795
Çetin, F., Askun, C. (2018). The effect of occupational self-efficacy on work performance through intrinsic work motivation. Management Research Review, 41(3), https://doi.org/10.1108/MRR-03-2017-0062
Clauss, E., Hoppe, A., Schachler, V., O’Shea, D. (2021). Occupational self-efficacy and work engagement as moderators in the stressor-detachment model. Work & Stress, 35(1), 74–92, https://doi.org/10.1080/02678373.2020.1743790
Coonan, G. (2006). The Role of Judicial Research Asssistants in Supporting the Decision-making role of the Irich Judiciary. Judicial Studies Institute Journal, 171–196.
Deyneli, F., Maskini, P. (2020). Utility Maximizing Judges and Judicial Assistants: Testing Rational Choice Theory in 22 EU Countries. International Journal for Court Administration, 11(3), https://doi.org/10.36745/ijca.361
Dodge, R., Daly, A. P., Huyton, J., Sanders, L. D. (2012). The challenge of defining wellbeing. International Journal of Wellbeing, 2(3), 222–235.
Erasmus, P., Pila-Nemutandani, R. G., Akanni A. A., Tsabedze, W. F. (2021). Gendered group conflict effects on prosecutors’ psychological well-being: A brief study. Journal of Psychology in Africa, 31(5), 529–532, https://doi.org/10.1080/14330237.2021.1978169
Gertz, M. G. (1977). Influence In Court Systems: The Clerk As Interface. The Justice System Journal, 3(1), 30–37.
Grendstad, G., Shaffer, W., Øyrehagen, J., Waltenburg, E. (2020). From Backlogs to Quality Assurance. The Development of Law Clerk Units at Norwegian Courts. International Journal for Court Administration, 11(3), https://doi.org/10.36745/ijca.352
Grether, T., Sowislo, J. F., Wiese, B. S. (2018). Top-down or bottom-up? Prospective relations between general and domain-specific self-efficacy beliefs during a work-family transition. Personality and Individual Differences, 121, 131–139, https://doi.org/10.1016/j.paid.2017.09.021
Guarnaccia, C., Scrima, F., Civilleri, A., Salerno, L. (2018). The role of occupational self-efficacy in mediating the effect of job insecurity on work engagement, satisfaction and general health. Current Psychology, 37(3), 488–497.
Gudaitė, U., Valickas, G. (2014). Teisėjų patiriamas stresas ir jo įveikos ypatumai. International journal of psychology: a biopsychosocial approach [Tarptautinis psichologijos žurnalas: biopsichosocialinis požiūris]. 2014, 15, 91–110.
Guinot, J., Monfort, A., Chiva, R. (2021). How to increase job satisfaction: the role of participative decisions and feeling trusted. Employee Relations: The International Journal, 43(6), 1397–1413, http://dx.doi.org/10.1108/ER-10-2020-0462
Hakanen, J., Rodríguez‐Sánchez, A. M., Perhoniemi, R. (2012). Too good to be true? Similarities and differences between engagement and work-aholism among Finnish judges. Ciencia & Trabajo, 14, 72–80.
Holvast, N. (2016). The Power Of The Judicial Assistant / Law Clerk: Looking Behind The Scenes At Courts In The United States, England And Wales, And The Netherlands. International Journal for Court Administration, 7(2), 10–28.
Holvast, N. (2017). In the Shadow of the Judge. The involvement of judicial assistants in Dutch district courts. Nyderlandai, Eleven International Publishing.
Holvast, N., Mascini, P. (2020). Is the Judge or the Clerk Making the Decision? Measuring the Influence of Judicial Assistants via an Experimental Survey among Dutch District Court Judges. International Journal for Court Administration, 11(3), https://doi.org/10.36745/ijca.358
Huta, V. (2015). An overview of hedonic and eudaimonic well-being concepts. L. Reinecke & M. B. Oliver (Eds.). Handbook of media use and well-being, 1–26. New York: Routledge.
Kahneman, D., Diener, E., Schwarz, N. (1999). Well-being. The foundation of hedonic psychology. New York: Russell Stage Foundation.
Kairys, A., Bagdonas, A., Liniauskaitė, A., Pakalniškienė, V. (2013). Lietuviškoji psichologinės gerovės skalė. Naudojimo vadovas. Vilnius: Vilniaus universiteto leidykla.
Krieger, L. S., Sheldon, K. M. (2015). What makes lawyers happy: data-driven prescription to redefine professional success. George Washington Law Review, 83(2), 554–627.
Liu, E., Huang, J. (2019). Occupational self-efficacy, organizational commitment, and work engagement. Social Behavior and Personality: An International Journal, 47(8), 1–7, https://psycnet.apa.org/doi/10.2224/sbp.8046
López-Cabarcos, M. Á., López-Carballeira, A., Ferro-Soto, C. (2023). How to Prevent Hostile Behaviors and Emotional Exhaustion among Law Enforcement Professionals: The Negative Spiral of Role Conflict. Int. J. Environ. Res. Public Health.
Mañas, M. A., Díaz-Fúnez, P. A., Pecino, V., López-Liria, R., Padilla, D., Aguilar-Parra, J. M. (2018). Consequences of team job demands: role ambiguityclimate, affective engagement, and extra-role performance. Front. Psychol. 8:2292.
Mañas, M. A., Díaz-Fúnez, P., Pecino, V., López-Liria, R., Padilla, D., Aguilar-Parra, D. (2018). Consequences of Team Job Demands: Role Ambiguity Climate, Affective Engagement, and Extra-Role Performance. Psichology: Organizational Psichology, 8, http://dx.doi.org/10.3389/fpsyg.2017.02292
Mascini, P., Holvast, N. (2020). Explaining Judicial Assistants’ Influence on Adjudication with Principal-Agent Theory and Contextual Factors. International Journal for Court Administration, 11(3), https://doi.org/10.36745/ijca.357
Oldfather, Ch., Peppers, T. (2014). Introduction: Judicial Assistants or Junior Judges: The Hiring, Utilization, and Influence of Law Clerks. Marquette Law Review, 98(1), 1–12.
Organ, J. M. (2011). What do we know about the satisfaction/dissatisfaction of lawyers a meta-analysis of research on lawyer satisfaction and well-being. University of St. Thomas Law Journal, 8(2), 225–274.
Padhy, M., Chelli, K., Padiri, R. A. (2015). Optimism and psychological well-being of police officers with different work experiences. SAGE Open, 1–7, https://doi.org/10.1177/2158244015580852
Posner, R. (1988). The Jurisprudence of Skepticism. Michigan Law Review, 86(5), 827–891.
Ryan, R. M., Deci, E. L. (2001). On happiness and human potentials: A review of research on hedonic and eudaimonic well-being. Annu. Rev. Psychol, 52, 141–166, https://doi.org/10.1146/annurev.psych.52.1.141
Ryff, C. D., Singer, B. H. (2008). Know thyself and become what you are:a eudaimonic approach to psychological well-being. Journal of Happiness Studies, 9, 13–39.
Rigotti, T., Schyns, B., Mohr, G. (2008). A short version of the occupational self-efficacy scale: structural and construct validity across five countries. Journal of Career Assessment, 16(2), 238–255, https://doi.org/10.1177/1069072707305763
Rossouw, E., Rothmann, S. (2020). Well-being of judges: A review of quantitative and qualitative studies. SA Journal of Industrial Psychology, 46(1), 1–12, https://doi.org/10.4102/sajip.v46i0.1759
Sanders, A. (2020). Judicial Assistants in Europe – A Comparative Analysis. International Journal for Court Administration, 11(3), https://doi.org/10.36745/ijca.360
Schyns, B., von Collani, G. (2002). A new occupational self-efficacy scale and its relation to personality constructs and organizational variables. European Journal of Work and Organizational Psychology, 11(2), 219–241, https://doi.org/10.1080/13594320244000148
Schrever, C., Hulbert, C., Sourdin, T. (2021). Where stress presides: Predictors and correlates of stress among Australian judges and magistrates. Psychiatry, Psychology and Law, 1–38.
Schunk, D. H., Pajares, F. (2009). Self-efficacy theory. In: K. R. Wentzel & A. Wigfield (Eds.). Handbook of motivationat school. New York: Routledge, 35–53.
Šarakauskienė, Ž., Bagdonas, A. (2011). Vyresnių klasių mokinių psichologinės gerovės prognostiniai kintamieji. Psichologija, 44, 7–21, https://doi.org/10.15388/Psichol.2011.44.2551
Tomas, J. (2021). Occupational Self-Efficacy as a Mediator in the Reciprocal Relationship between Job Demands and Mental Health Complaints: A Three-Wave Investigation. Int. J. Environ. Res. Public Health, 18(21).
Valickas G., Vanagaitė, K. (2019). Prokurorų patiriamo streso ir jo įveikos ypatumai: dviejų tyrimų duomenys. Teisė, 112, 46–69.
Valickas, G., Vanagaitė, K. (2015). Prokurorų patiriamas stresas ir jo įveika. Teisė, 96, 7–24, https://doi.org/10.15388/Teise.2015.96.8754
Wu, G., Hu, Z., Zheng, J. (2019). Role Stress, Job Burnout, and Job Performance in Construction Project Managers: The Moderating Role of Career Calling. International Journal of Environmental Research and Public Health, 16(13), 2394, https://doi.org/10.3390/ijerph16132394
Žukauskaitė, I., Bagdžiūnienė, D., Rekašiūtė Balsienė, I. (2019). Darbuotojų profesinio saviveiksmingumo, struktūrinio įgalinimo ir įsitraukimo į darbą sąsajos. Psichologija, 59, 37–52, https://doi.org/10.15388/Psichol.2019.3
Lietuvos apeliacinio teismo 2022 m. gegužės 6 d. nutartis baudžiamojoje byloje Nr. 1A-96-626/2022.
Lietuvos Respublikos Konstitucinio Teismo 2007 m. spalio 22 d. nutarimas. Valstybės žinios, 110-4511.
Lietuvos Respublikos Konstitucinio Teismo 2010 m. birželio 29 d. nutarimas. Valstybės žinios, 134-6860.
Lietuvos Respublikos Konstitucinio Teismo 2011 m. vasario 14 d. nutarimas. Valstybės žinios, 20-967.
Lietuvos vyriausiojo administracinio teismo 2015 m. rugsėjo 28 d. sprendimas administracinėje byloje Nr. A-2154-520/2015.
Lietuvos vyriausiojo administracinio teismo 2019 m. balandžio 1 d. nutartis administracinėje byloje Nr. A-872-1062/2019.
2022 m. spalio 16 d. Teismo proceso vedimo studija, parengta įgyvendinant projektą „Kokybės, paslaugų ir infrastruktūros tobulinimas Lietuvos teismuose“ Nr. LT06-1-BTA-TF-001 [interaktyvus]. Prieiga per internetą: https://grants.teismas.lt/wp-content/uploads/2022/11/Teismo-proceso-vedimo-studija.pdf [žiūrėta 2023 m. sausio 10 d.].
Aiškinamasis raštas „Dėl Lietuvos Respublikos teismų įstatymo 7, 10, 33, 36, 38, 39, 42, 43, 47, 51, 551, 57, 63, 81 straipsnių, IX skyriaus pavadinimo, 83, 85, 86, 90, 98, 101 straipsnių, XII skyriaus antrojo skirsnio pavadinimo, 106, 107, 108, 119, 120, 122, 124, 127, 128 ir 129 straipsnių pakeitimo ir papildymo, 109, 110, 111, 112 ir 125 straipsnių pripažinimo netekusiais galios ir įstatymo papildymo 531, 532 straipsniais, IX skyriaus trečiuoju skirsniu ir 1001 straipsniu įstatymo projekto“.
Konsultacinės Europos Teisėjų Tarybos (Consultative Council of European Judges (CCJE) nuomonė Nr. 22 (2019) „Teisėjų padėjėjų vaidmuo“ (angl. CCJE Opinion No 22 (2019) The role of Judicial Assistanst) [interaktyvus]. Prieiga per internetą: https://rm.coe.int/opinion-22-ccje-en/168098eecb [žiūrėta 2021 m. gruodžio 4 d.].
Lietuvos Respublikos Seimo 2012 m. gruodžio 13 d. nutarimas Nr. XII-51 „Dėl Lietuvos Respublikos Vyriausybės programos“ (Valstybės žinios, 2012, Nr. 149-7630).
Lietuvos Respublikos teisėjų asociacijos 2003 m. spalio 3 d. visuotinio susirinkimo rezoliucija „Dėl teisėjų padėjėjų“.
Lietuvos teismai. Informacija apie Lietuvos Respublikos teismų darbą 2004 metais [interaktyvus]. Prieiga per internetą: https://www.teismai.lt/data/public/uploads/2014/12/informacija_apie_lr_teismu_darba_2004_metais.pdf [žiūrėta 2021 m. balandžio 4 d.].
Lietuvos teismai. Teismų veiklos apžvalga 2014 m. [interaktyvus]. Prieiga per internetą: https://www.teismai.lt/data/public/uploads/2017/05/2014_teismu_veiklos_apzvalga_.pdf [žiūrėta 2021 m. balandžio 4 d.].
Lietuvos teismai. Teismų veiklos apžvalga 2015 m. [interaktyvus]. Prieiga per internetą: https://www.teismai.lt/data/public/uploads/2016/04/teismu_ataskaita_2015_su-turiniu_sumazinta.pdf [žiūrėta 2021 m. balandžio 4 d.].
Lietuvos teismai. Teismų veiklos apžvalga 2016 m. [interaktyvus]. Prieiga per internetą: https://www.teismai.lt/data/public/uploads/2017/05/d2_lietuvos_teismai_ataskaita.pdf [žiūrėta 2021 m. balandžio 4 d.].
Lietuvos teismai. Teismų veiklos apžvalga 2017 m. [interaktyvus]. Prieiga per internetą: https://www.teismai.lt/data/public/uploads/2018/04/d2_galutine-ataskaita-10.pdf [žiūrėta 2021 m. balandžio 4 d.].
Lietuvos teismai. Veiklos rezultatai 2018 m. [interaktyvus]. Prieiga per internetą: https://www.teismai.lt/data/public/uploads/2019/04/d2_teismu-veiklos-rezultatai-2018-m.-patikslinta.pdf [žiūrėta 2021 m. balandžio 4 d.].
Lietuvos teismai. Veiklos rezultatai 2019 m. [interaktyvus]. Prieiga per internetą: https://www.teismai.lt/data/public/uploads/2020/03/teismai2020.pdf [žiūrėta 2021 m. balandžio 4 d.].
Lietuvos teismai. Veiklos rezultatai 2020 m. [interaktyvus]. Prieiga per internetą: https://www.teismai.lt/data/public/uploads/2021/03/teismai2021-g.pdf [žiūrėta 2021 m. balandžio 4 d.].
Lietuvos teismai. Veiklos rezultatai 2021 m. [interaktyvus]. Prieiga per internetą: https://www.teismai.lt/data/public/uploads/2022/03/teismai2022-taisytas.pdf [žiūrėta 2021 m. balandžio 4 d.].
Lietuvos teismai. Veiklos rezultatai 2022 m. [interaktyvus]. Prieiga per internetą: https://www.teismai.lt/data/public/uploads/2023/03/trumpoji-teismu-veiklos-2022-m.-ataskaitos-versija_galutinis.pdf [žiūrėta 2023 m. gegužės 5 d.].
Teisėjų etikos ir drausmės komisijos 2021 m. rugsėjo 16 d. konsultacija Nr. BD8884ED.
Teisėjų tarybos 2002 m. rugsėjo 6 d. nutarimas Nr. 38 (Teisėjų tarybos 2007 m. kovo 30 d. nutarimo Nr. 13P-40 redakcija).
Teisėjų tarybos 2004 m. birželio 11 d. nutarimas Nr. 240 „Rekomendacijos dėl reikalavimų pretendentams, siekiantiems tapti teisėjų padėjėjams“.
Teisėjų tarybos 2004 m. birželio 4 d. nutarimas Nr. 232 „Dėl pritarimo 174 papildomų teisėjų padėjėjų etatų ir lėšų teismams paskirstymo“.
Teisėjų tarybos 2004 m. lapkričio 27 d. raštas „Dėl teisėjų padėjėjų“.
Teisėjų tarybos 2006 m. balandžio 7 d. nutarimas Nr. 13 P-458 „Dėl pritarimo darbo grupės parengtai išvadai“.
Teisėjų tarybos 2018 m. gruodžio 14 d. nutarimas Nr. 13P-142-(7.1.2) „Dėl Teisėjų tarybos 2018 m. rugsėjo 28 d. nutarimo Nr. 13P-101-(7.1.2) „Dėl Pavyzdinių apylinkių teismų, apygardų teismų ir apygardų administracinių teismų struktūrų aprašymų ir pareigybių sąrašų patvirtinimo“ pakeitimo“.
Teisėjų tarybos 2020 m. gruodžio 16 d. nutarimas Nr. 13P-127-(7.1.2) „Dėl nuo 2021 metų finansuojamų teisėjų padėjėjų pareigybių skaičiaus Lietuvos Respublikos teismuose nustatymo“.
Teismų sistemos naujienos „Pristatyti pirmą kartą atlikto Lietuvos teisėjų ir teismų darbuotojų psichologinės gerovės tyrimo rezultatai“ [interaktyvus]. Prieiga per internetą: https://www.teismai.lt/lt/pristatyti-pirma-karta-atlikto-lietuvos-teiseju-ir-teismu-darbuotoju-psichologines-geroves-tyrimo-rezultatai/10677 [žiūrėta 2023 m. kovo 1 d.].
|
Svajūnė Tylaitė baigė Teisės psichologijos studijų programą ir parengė magistro baigiamąjį darbą „Teisėjų padėjėjų psichologinės gerovės ir profesinio saviveiksmingumo ryšys“ (vadovė dr. Dovilė Barysė). Svajūnė Tylaitė completed her psychology studies at the Faculty of Philosophy of Vilnius University, where she defended her Master’s thesis themed The Relationship between the Psychological Well-Being and Professional Self-Efficacy of Judicial Assistants (supervisor Dr. Dovilė Barysė). |
|
Dr. Dovilės Barysės pagrindinės mokslinių tyrimų sritys: teisės technologijų teisingumas ir jų priėmimas, sprendimų priėmimas bei žmogaus ir automatizacijos sąveika, suvoktas teisingumas. Dr. Dovilė Barysė conducts scientific work in the following fields of research: legal technology and adoption, decision making and human-automation interaction, perceived justice |
|
Simonos Bareikytės mokslinių tyrimų sritys: administracinė teisė, administracinės procedūros, administracinis procesas, sprendimų priėmimas. Simona Bareikytė has a number of areas of academic interest: administrative law, administrative procedures, administrative justice, and decision-making. |
1 priedas. Tyrime naudotų kintamųjų aprašomoji statistika
|
Kintamieji |
n |
M |
SD |
Mažiausias |
Didžiausias |
|
Profesinis saviveiksmingumas |
269 |
4,28 |
0,61 |
2,00 |
5,00 |
|
LPGS-P |
238 |
127,57 |
23,82 |
24,00 |
168,00 |
|
Darbo stažas |
269 |
6,93 |
4,74 |
0,10 |
20,00 |
|
„Mano darbo krūvis dažniausiai per didelis“ |
269 |
3,97 |
1,07 |
1,00 |
5,00 |
|
„Jaučiuosi darbe vertinamas, manimi pasitikima“ |
269 |
4,09 |
0,96 |
1,00 |
5,00 |
|
Amžius |
266 |
35,99 |
7,67 |
22,00 |
61,00 |
Pastaba. n – tyrimo dalyvių skaičius; M – vidurkis; SD – standartinis nuokrypis.
2 priedas. Psichologinės gerovės suminio įverčio, pasitenkinimo atskiromis gyvenimo sritimis, profesinio saviveiksmingumo, amžiaus, darbo stažo, suvokto darbo krūvio ir vertingumo darbe koreliacijos
|
Profesinis saviveiksmingumas |
Amžius |
Darbo stažas |
Suvoktas darbo krūvis |
Suvoktas vertingumas darbe |
||
|---|---|---|---|---|---|---|
|
Profesinis saviveiksmingumas |
rs |
0,197** |
0,180** |
0,029 |
0,524** |
|
|
p |
0,001 |
0,003 |
0,63 |
<,001 |
||
|
N |
266 |
269 |
269 |
269 |
||
|
LPGS-P |
rs |
0,429** |
0,208** |
-0,046 |
-0,132* |
0,449** |
|
p |
<,001 |
0,001 |
0,481 |
0,042 |
<,001 |
|
|
N |
238 |
235 |
238 |
238 |
238 |
|
|
Buitinės sąlygos |
rs |
0,172** |
0,086 |
-0,045 |
-0,061 |
0,176** |
|
p |
0,005 |
0,164 |
0,465 |
0,318 |
0,004 |
|
|
N |
269 |
266 |
269 |
269 |
269 |
|
|
Finansinė padėtis |
rs |
0,127* |
0,251** |
0,078 |
-,128* |
0,279** |
|
p |
0,038 |
<,001 |
0,203 |
0,036 |
<,001 |
|
|
N |
268 |
265 |
268 |
268 |
268 |
|
|
Darbas |
rs |
0,237** |
0,075 |
-0,112 |
-,326** |
0,364** |
|
p |
<,001 |
0,222 |
0,068 |
<,001 |
<,001 |
|
|
N |
268 |
265 |
268 |
268 |
268 |
|
|
Mokymasis, studijos |
rs |
0,311** |
0,141* |
0,041 |
0,015 |
0,238** |
|
p |
<,001 |
0,026 |
0,519 |
0,813 |
<,001 |
|
|
N |
252 |
249 |
252 |
252 |
252 |
|
|
Šeima |
rs |
0,295** |
0,103 |
0,002 |
-0,172** |
0,293** |
|
p |
<,001 |
0,097 |
0,971 |
0,005 |
<,001 |
|
|
N |
264 |
261 |
264 |
264 |
264 |
|
|
Gyvenimo kasdienybė |
rs |
0,250** |
0,189** |
-0,01 |
-0,152* |
0,279** |
|
p |
<,001 |
0,002 |
0,869 |
0,013 |
<,001 |
|
|
N |
268 |
265 |
268 |
268 |
268 |
|
|
Aš kaip asmenybė |
rs |
0,495** |
0,119 |
-0,034 |
-0,022 |
0,355** |
|
p |
<,001 |
0,054 |
0,576 |
0,714 |
<,001 |
|
|
N |
268 |
265 |
268 |
268 |
268 |
|
|
Padėtis visuomenėje |
rs |
0,323** |
0,154* |
-0,075 |
-0,079 |
0,298** |
|
p |
<,001 |
0,012 |
0,222 |
0,196 |
<,001 |
|
|
N |
269 |
266 |
269 |
269 |
269 |
|
|
Tarpasmeniniai santykiai |
rs |
0,400** |
0,07 |
-0,032 |
-0,062 |
0,364** |
|
p |
<,001 |
0,258 |
0,607 |
0,31 |
<,001 |
|
|
N |
268 |
265 |
268 |
268 |
268 |
|
|
Fizinė sveikata |
rs |
0,368** |
0,174** |
0,086 |
-0,085 |
0,321** |
|
p |
<,001 |
0,004 |
0,157 |
0,166 |
<,001 |
|
|
N |
269 |
266 |
269 |
269 |
269 |
|
|
Dvasinė savijauta |
rs |
0,364** |
0,235** |
0,038 |
-0,148* |
0,355** |
|
p |
<,001 |
<,001 |
0,54 |
0,016 |
<,001 |
|
|
N |
267 |
264 |
267 |
267 |
267 |
|
|
Laisvalaikis |
rs |
0,394** |
0,146* |
0,009 |
-0,173** |
0,240** |
|
p |
<,001 |
0,018 |
0,881 |
0,005 |
<,001 |
|
|
N |
267 |
264 |
267 |
267 |
267 |
|
|
Buvimas vyru / moterimi |
rs |
0,404** |
0,071 |
0,038 |
-0,015 |
0,270** |
|
p |
<,001 |
0,248 |
0,539 |
0,811 |
<,001 |
|
|
N |
269 |
266 |
269 |
269 |
269 |
|
|
Gyvenimas praeityje |
rs |
0,279** |
0,067 |
0,053 |
0,054 |
0,129* |
|
p |
<,001 |
0,279 |
0,386 |
0,379 |
0,035 |
|
|
N |
268 |
265 |
268 |
268 |
268 |
|
|
Gyvenimas dabartyje |
rs |
0,371** |
0,131* |
-0,049 |
-0,124* |
0,351** |
|
p |
<,001 |
0,034 |
0,425 |
0,043 |
<,001 |
|
|
N |
268 |
265 |
268 |
268 |
268 |
|
|
Ateities perspektyvos |
rs |
0,370** |
0,049 |
-,155* |
-0,128* |
0,384** |
|
p |
<,001 |
0,428 |
0,011 |
0,037 |
<,001 |
|
|
N |
268 |
265 |
268 |
268 |
268 |
|
|
Gyvenimas apskritai |
rs |
0,418** |
0,122* |
-0,017 |
-0,139* |
0,373** |
|
p |
<,001 |
0,047 |
0,778 |
0,023 |
<,001 |
|
|
N |
269 |
266 |
269 |
269 |
269 |
|
|
Amžius |
rs |
0,197** |
0,673** |
0,061 |
0,304** |
|
|
p |
0,001 |
<,001 |
0,321 |
<,001 |
||
|
N |
266 |
266 |
266 |
266 |
||
|
Darbo stažas |
rs |
,180** |
0,673** |
0,077 |
0,301** |
|
|
p |
0,003 |
<,001 |
0,209 |
<,001 |
||
|
N |
269 |
266 |
269 |
269 |
||
|
Suvoktas darbo krūvis |
rs |
0,029 |
0,061 |
0,077 |
-0,064 |
|
|
p |
0,63 |
0,321 |
0,209 |
0,297 |
||
|
N |
269 |
266 |
269 |
269 |
||
|
Suvoktas vertingumas darbe |
rs |
0,524** |
0,304** |
0,301** |
-0,064 |
|
|
p |
<,001 |
<,001 |
<,001 |
0,297 |
||
|
N |
269 |
266 |
269 |
269 |
||
Pastaba. Tyrimo dalyviai galėjo nevertinti jiems netinkančių gyvenimo sričių. rs – Spearmano koreliacijos koeficientas, p – statistinio reikšmingumo lygmuo, N – tyrimo dalyvių skaičius.
1 Straipsnis parengtas, remiantis tyrimo duomenimis, pagal kuriuos 2022 metais buvo parengtas ir sėkmingai apgintas Teisės psichologijos studijų programos magistro baigiamasis darbas „Teisėjų padėjėjų psichologinės gerovės ir profesinio saviveiksmingumo ryšys“ (vadovė: dr. Dovilė Barysė).
2 Tyrimo metu – Vilniaus universiteto Teisės fakulteto doktorantė, Lietuvos vyriausiojo administracinio teismo teisėjo padėjėja, Teisėjų padėjėjų asociacijos pirmininkė.
3 Konsultacinės Europos Teisėjų Tarybos (Consultative Council of European Judges (CCJE) nuomonė Nr. 22 (2019) „Teisėjų padėjėjų vaidmuo“ (angl. CCJE Opinion No 22 (2019) The role of Judicial Assistanst). Prieiga per internetą: https://rm.coe.int/opinion-22-ccje-en/168098eecb [žiūrėta 2021 m. gruodžio 4 d.].
4 Atsižvelgus į aktualią literatūrą, lyginamuosiuose tyrimuose atskleistus skirtingus teisėjo padėjėjo pareigybės modelius, skirtingus teisinius tos pačios teismo pareigybės terminus, šiame tyrime vartojamas terminas „teisėjo padėjėjas“.
5 Tyrimo tikslais sąvoka profesinis vaidmuo vartojama, kalbant apie konkrečią profesiją, o sąvoka darbinis vaidmuo vartojama,kai kalbama apie atliekamas konkrečias darbines funkcijas.
6 Teismo proceso vedimo studija. Parengta įgyvendinant projektą „Kokybės, paslaugų ir infrastruktūros tobulinimas Lietuvos teismuose“ Nr. LT06-1-NTA-TF-001. Parengė: Mykolo Romerio universiteto tyrėjai. Prieiga per internetą: https://grants.teismas.lt/wp-content/uploads/2022/11/Teismo-proceso-vedimo-studija.pdf [žiūrėta 2023 m. sausio 10 d.].
7 Studijoje pateiktos rekomendacijos tinka ne tik baudžiamąsias bylas nagrinėjantiems teismams ir jų atstovams.
8 Pavyzdžiui, straipsnis „Teismo vadovė: teisininkų nebevilioja teisėjo padėjėjo darbas“ (https://www.delfi.lt/news/daily/law/teismo-vadove-teisininku-nebevilioja-teisejo-padejejo-darbas.d?id=88438513); straipsnis „Teismo pirmininkas – apie menkas algas: posėdžių sekretorė neuždirba nė 800 Eur, teisėjo padėjėjas – 1 000 Eur“ (https://www.15min.lt/naujiena/aktualu/lietuva/teismo-pirmininkas-apie-menkas-algas-posedziu-sekretore-neuzdirba-ne-800-euru-teisejo-padejejas-1000-2-56-2012760); kt.
9 Aktyvus įsitraukimas į teisėjo padėjėjo darbo organizavimą, koordinavimą, tikėjimas teisėjo kaip paties priimančio sprendimus vaidmeniu (angl. judge’s rule of law role orientation), pasitikėjimas teisėjo padėjėjo įsitraukimu į sprendimo priėmimo procesą ir jo atliekamu darbu, turimos profesinės patirties skirtumas.
10 Lygia greta reikšminga ir tai, kad Lietuvos Respublikos Konstitucinis Teismas ne kartą pasisakė, jog teisėjų, kuriems ruoštis bylos nagrinėjimui padeda teisėjų padėjėjai, statusas yra nulemtas būtent jų atliekamų funkcijų ir jų pobūdžio (Konstitucinio Teismo 2007 m. ..., Konstitucinio Teismo 2010 m. ..., Konstitucinio Teismo 2011 m. ...).
11 Atliktame tyrime sąvokos „pareigos“, „funkcijos“, kai jos vartojamos, kalbant apie teisėjui paskirtas ar pavestas atlikti pareigas ar funkcijas, vartojamos kaip sinonimai.
12 Nors atliktam tyrimui laiko požiūriu neaktualu, tačiau pažymėtina, kad nuo 2024 m. sausio 1 d. ūkinio ir (ar) techninio pobūdžio funkcijos pakeistos vidaus administravimo funkcijomis, kurios apibrėžtos kaip veikla, kuria užtikrinamas viešojo administravimo subjekto, turinčio viešojo juridinio asmens statusą, savarankiškas funkcionavimas, kad jis galėtų atlikti viešąjį administravimą.
13 Teisės aktuose, reglamentuojančiuose teisėjo padėjėjo pareigybę, vartojamos skirtingos sąvokos – paskirtis, tikslas, specializacija. Visų jų reikšmė atitinka pagrindinę tikslo, kaip norimo pasiekti dalyko, žyminčio siekimą, reikšmę. Todėl šios sąvokos šio tyrimo tikslais vartojamos kaip sinonimai, pasirenkant vartoti tikslą, kaip pagrindinę iš jų.
14 Teisėjų kolegija patvirtino tipinį teisėjo padėjėjo pareigybės aprašymą (Teismų tarybos 2002 m. rugsėjo 6 d. …), kurį vėliau pakeitė, patvirtinusi dabar galiojantį pavyzdinį teisėjo padėjėjo pareigybės aprašymą (Teisėjų tarybos 2009 m. gegužės 29 d. ...; Teisėjų tarybos 2020 m. gegužės 29 d. …).
15 Vienoje iš konsultacijų Teisėjų etikos ir drausmės komisija išaiškino, kad: „Teisėjo darbą sudaro rengimasis byloms, jų nagrinėjimas, procesinių dokumentų rengimas ir tvarkymas. Pasirengimas bylai susideda iš bylos medžiagos analizės, taikomų įstatymų ir teisinės literatūros studijavimo, susipažinimo su teismine praktika. Į teisėjų pareigas įeina kvalifikacijos kėlimas, kuris vykdomas centralizuotai, organizuotai arba individualiai. Jis apima dalykinius teisės žinojimo, taikymo ir tobulinimo klausimus, taip pat teismų ir teisėjų veiklos organizacinius klausimus“ (Teisėjų etikos ir drausmės komisijos 2021 m. rugsėjo 16 d. ...; vadovautasi Lietuvos apeliacinio teismo 2022 m. gegužės 6 d. ...).
16 Renka įstatymus ir kitus norminius aktus, teisinę bei kitą informaciją, juos analizuoja, sistemina ir teikia išvadas teisėjui (-ams); rengia procesinių dokumentų, sprendimų, teisės aktų ir kitų teismo veiklos dokumentų projektus; analizuoja ir vertina teismo posėdžiams rengiamų bylų medžiagą, teikia išvadas; nagrinėja skundus, pareiškimus, prašymus, rengia atsakymų projektus; nuasmenina procesinius dokumentus; vykdo šiai pareigybei pavestas funkcijas, susijusias su Lietuvos teismų informacine sistema (LITEKO); pagal kompetenciją dalyvauja darbo grupių, komisijų veikloje; vykdo kitus nenuolatinio pobūdžio su įstaigos veikla susijusius pavedimus.
17 Apdoroja su teismo veikla susijusią informaciją; rengia procesinių dokumentų, sprendimų, teisės aktų ir kitų teismo veiklos dokumentų projektus; nagrinėja skundus, pareiškimus, prašymus ir kitus dokumentus, rengia atsakymus; analizuoja ir vertina teismo posėdžiams rengiamų bylų medžiagą, teikia išvadas) (Valstybės tarnybos departamento direktoriaus 2020 m. kovo 31 d. įsakymas Nr. 27V-31 „Dėl Valstybės tarnautojų pareigybių aprašymų ruošinių ir bendrųjų, vadybinių ir lyderystės, specifinių ir bendrosios veiklos srities profesinių kompetencijų aprašymų patvirtinimo“).
18 Skirtingų teismų patvirtintus teisėjo padėjėjo pareigybės aprašymus, jų funkcijas galima rasti viešai interaktyviu adresu: https://www.teismai.lt/lt/visuomenei-ir-ziniasklaidai/teismai-ir-teisejai/teismu-kontaktai/1700.
19 Teismų įstatymo 106 str. 3 d. 3 p. (redakcija, galiojanti nuo 2008 m. rugsėjo 1 d.).
20 Įstatymų ir kitų norminių aktų, teisinės bei kitos informacijos rinkimas, analizavimas, sisteminimas ir išvadų teikimas, teismo posėdžiams rengiamų bylų medžiagos vertinimas, analizavimas, išvadų teikimas, teismo procesinių sprendimų projektų rengimas.
21 Akivaizdu, kad įstatymai, reglamentuojantys teisminį procesą, kodeksai nustato teismui procesines teises ir pareigas, kurių teismas privalo laikytis, nagrinėdamas bylas, t. y. kokie konkretūs procesiniai veiksmai gali ir (ar) turi būti atlikti, koks įrodinėjimo procesas pagal skirtingų kategorijų bylas ir pan. Bet pagal atlikto tyrimo objektą šie procesiniai veiksmai neaktualūs, nes, kaip minėta, įstatymuose, reglamentuojančiuose teisminį procesą, kodeksuose teisėjo padėjėjo pareigybė apskritai nėra sureguliuota ir santykiai tarp teisėjo ir teisėjo padėjėjo, kuris teisėjui padeda pasiruošti bylos nagrinėjimui, nėra reglamentuoti.
22 Procesinių dokumentų nuasmeninimas, darbas su Lietuvos teismų informacine sistema LITEKO. Teisėjų padėjėjai, be kita ko, pagal Teisėjų tarybos 2021 m. gruodžio 20 d. nutarimą Nr. 13P-163-(7.1.2.) atsakingi už žyminio mokesčio mokėjimo užduočių sukūrimą ir panaikinimą, įskaitymą, užskaitymą. Taip pat prie šių funkcijų teisėjų padėjėjams gali būti pavesta patikrinti, ar byla teisingai priskirta bylų kategorijoms pagal bylų kategorijų klasifikatorių, priskirti teismų procesinių sprendimų kategorijas (Teismų tarybos 2004 m. gruodžio 17 d. nutarimas Nr. 306; Teismų tarybos 2005 m. rugsėjo 9 d. nutarimas Nr. 13P-378; Teisėjų tarybos 2008 m. balandžio 25 d. nutarimas Nr. 13P-50-(7.1.2), teisėjas taip pat gali pavesti teisėjo padėjėjui organizuoti ir kontroliuoti pažymėto atitinkama(omis) kategorija(omis) skelbtino procesinio sprendimo elektroninės versijos įdėjimą į Lietuvos teismų informacinę sistemą LITEKO (Teisėjų tarybos 2016 m. balandžio 29 d. nutarimas Nr. 13P-56-(7.1.2); Teisėjų tarybos 2016 m. rugsėjo 30 d. nutarimas Nr. 13P-102-(7.1.2) ir kt.
23 M – vidurkis, SD – standartinis nuokrypis.
24 F – Fisherio testo koeficientas; df – laisvės laipsnis; p – statistinio reikšmingumo lygmuo.
25 M – vidurkis; SD – standartinis nuokrypis; t – t testo koeficientas; p – reikšmingumo lygmuo.